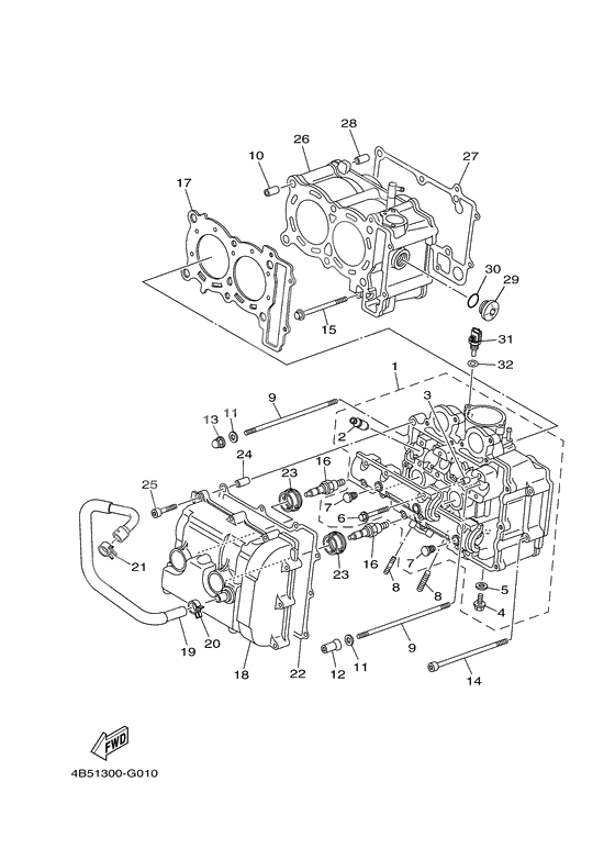
Cylinder
Cylinder
-
014B5-11101-01-00
Блок цилиндров
1Replaced by 4B5-11101-09-00 Доступно: Нет в наличии
-
0590430-08119-00
Washer, Needle Valve
1Replaced by 90201-08087-00 Доступно: Нет в наличии
-
1694701-00353-00
Cr7E Ngk Splug 10P
2Replaced by CR7-E0000-00-00 Доступно: Нет в наличии
-
194B5-11166-00-00
Трубка, сапун 1
1Replaced by 4B5-11166-10-00 Доступно: Нет в наличии
-
3093210-22382-00
Кольцо уплотнительное
1Replaced by 93210-20573-00 Доступно: Нет в наличии
