Transom + tube
Transom + tube
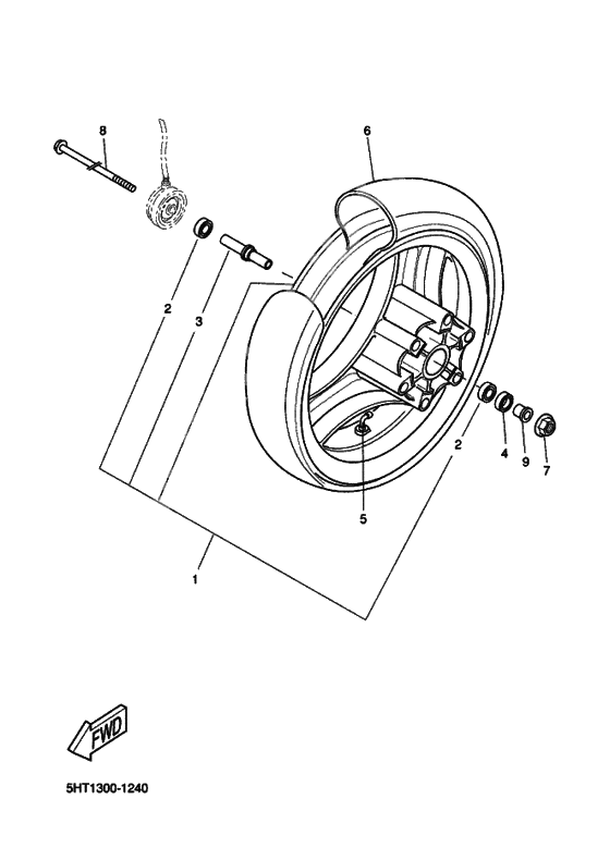
Cast Wheel, Front (Ref #1)
1
Part #5HT-F5168-01-00
Bearing(3Dl) (Ref #2)
2
Part #93306-20117-00
Bearing(3Dl) (Ref #2)
2
Part #93306-20117-00
Bearing(3Dl) (Ref #2)
2
Part #93306-20117-00
Bearing(3Dl) (Ref #2)
2
Part #93306-20117-00
Шайба, подшипник (Ref #3)
3
Part #5HT-F5117-00-00
Oil seal (Ref #4)
4
Part #93102-18800-00
Air Valve Assy (Ref #5)
5
Part #5BR-F5170-00-00
Гайка, самоблокирующаяся (Ref #7)
7
Part #95607-12200-00
Ось колеса (Ref #8)
8
Part #22F-25381-00-00
SPACER (Ref #9)
9
Part #5DS-F5105-00-00
