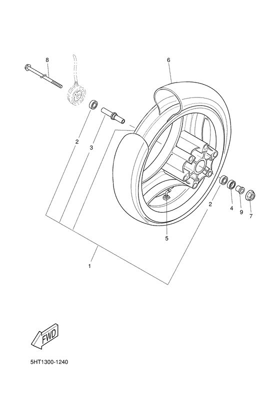
Front wheel

Front wheel

Front wheel
+ -
  • 01
    5HT-F5168-01-00

    Cast Wheel, Front

    1
    Доступно: Нет в наличии
  • 02
    93306-20117-00

    Bearing(3Dl)

    2
    Доступно: Нет в наличии
  • 02
    93306-201Y2-00

    BEARING

    2
    Replaced by 93306-20117-00 Доступно: Нет в наличии
  • 02
    933-06201-X2-00

    BEARING

    0
    Доступно: Нет в наличии
  • 02
    93306-20119-00

    Bearing(3Dl)

    0
    Доступно: Нет в наличии
  • 03
    5HT-F5117-00-00

    Шайба, подшипник

    1
    Доступно: Нет в наличии
  • 04
    93102-18800-00

    Oil seal

    1
    Доступно: Нет в наличии
  • 05
    5BR-F5170-00-00

    Air Valve Assy

    1
    Доступно: Нет в наличии
  • 07
    95607-12200-00

    Гайка, самоблокирующаяся

    1
    Доступно: Нет в наличии
  • 08
    22F-25381-10-00

    Ось колеса

    1
    Replaced by 22F-25381-00-00 Доступно: Нет в наличии
  • 08
    22F-25381-00-00

    Ось колеса

    1
    Доступно: Нет в наличии
  • 09
    5DS-F5105-00-00

    SPACER

    1
    Доступно: Нет в наличии