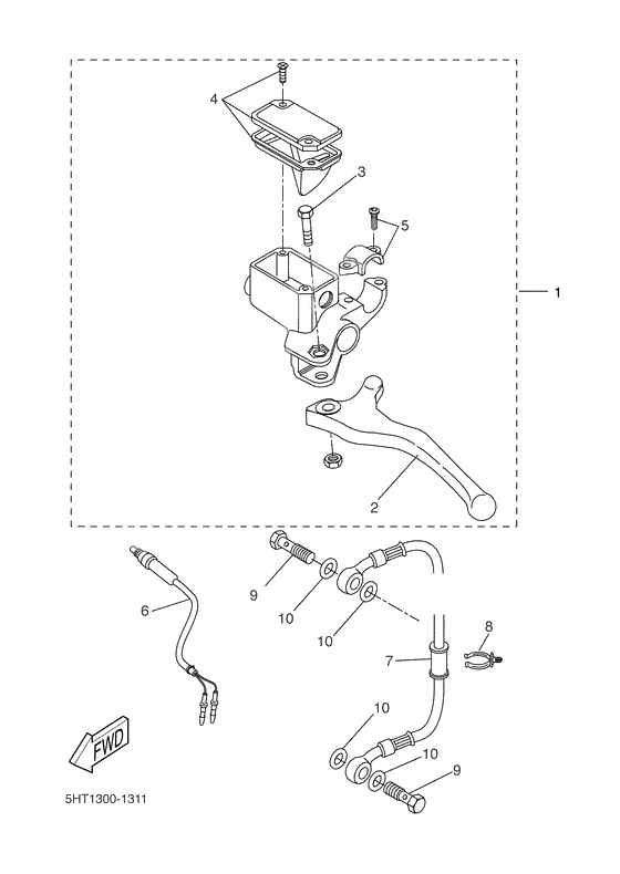
Rear master cylinder

Rear master cylinder

Rear master cylinder
+ -
  • 01
    5HT-F583V-01-00

    Rr. Master Cylinder Assy

    1
    Доступно: Нет в наличии
  • 02
    5DS-H3922-01-00

    Lever 2

    1
    Доступно: Нет в наличии
  • 03
    5JH-H3945-00-00

    BOLT

    1
    Доступно: Нет в наличии
  • 04
    5MF-F5852-00-00

    Стакан резервуара

    1
    Доступно: Нет в наличии
  • 05
    5HT-F5867-00-00

    Кронштейн

    1
    Доступно: Нет в наличии
  • 06
    5JH-H3980-02-00

    Front Stop Switch Assy

    1
    Replaced by 5JH-H3980-30-00 Доступно: Нет в наличии
  • 06
    5JH-H3980-30-00

    Front Stop Switch Assy

    1
    Доступно: Нет в наличии
  • 07
    5HT-F5873-00-00

    Шланг, тормоз 2

    1
    Доступно: Нет в наличии
  • 08
    5BR-F1337-00-00

    Струбцина кабеля

    1
    Доступно: Нет в наличии
  • 09
    90401-10X03-00

    Болт соединяющий

    2
    Доступно: Нет в наличии
  • 10
    90201-10X03-00

    Washer, Plate

    4
    Доступно: Нет в наличии