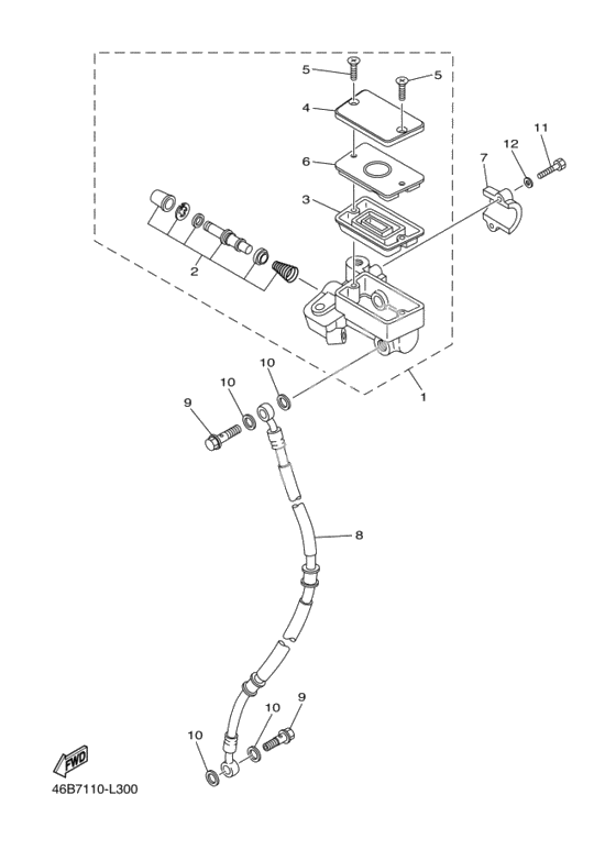
Передний тормозной цилиндр
Передний тормозной цилиндр
Главный цилиндр (Ref #1)
1
Part #19D-25870-00-00
Комплект главного цилиндра (Ref #2)
2
Part #23L-W0041-00-00
Gasket, Diaphragm (Ref #3)
3
Part #4L0-25854-00-00
Cap, Reservoir (Ref #4)
4
Part #19D-25852-00-00
Screw, Pan Head (Ref #5)
5
Part #98707-04012-00
Screw, Pan Head (Ref #5)
5
Part #98707-04012-00
Screw, Pan Head (Ref #5)
5
Part #98707-04012-00
Screw, Pan Head (Ref #5)
5
Part #98707-04012-00
Bush,diaphragm (Ref #6)
6
Part #19D-25855-00-00
Кронштейн (Ref #7)
7
Part #4L0-25867-00-00
Hose, Brake 1 (Ref #8)
8
Part #46B-25872-00-00
Болт-штуцер (Ref #9)
9
Part #90401-10020-00
Болт-штуцер (Ref #9)
9
Part #90401-10020-00
Болт-штуцер (Ref #9)
9
Part #90401-10020-00
Болт-штуцер (Ref #9)
9
Part #90401-10020-00
Bolt, Hexagon (Ref #11)
11
Part #970-17060-25-00
Washer, Plate (Ref #12)
12
Part #92907-06600-00
