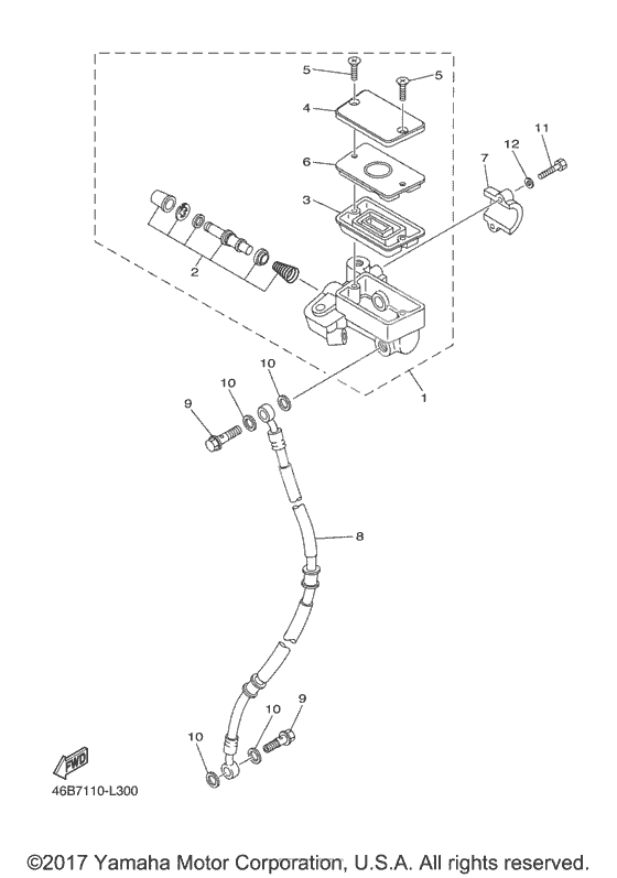
Передний тормозной цилиндр

Передний тормозной цилиндр

Передний тормозной цилиндр
+ -
  • 1
    19D-25870-00-00

    Главный цилиндр

    1
    Доступно: Нет в наличии
  • 2
    23L-W0041-00-00

    Комплект главного цилиндра

    1
    Доступно: Нет в наличии
  • 3
    4L0-25854-00-00

    Gasket, Diaphragm

    1
    Доступно: Нет в наличии
  • 4
    19D-25852-00-00

    Cap, Reservoir

    1
    Доступно: Нет в наличии
  • 5
    98707-04012-00

    Screw, Pan Head

    2
    Доступно: Нет в наличии
  • 6
    19D-25855-00-00

    Bush,diaphragm

    1
    Доступно: Нет в наличии
  • 7
    4L0-25867-00-00

    Кронштейн

    1
    Доступно: Нет в наличии
  • 8
    46B-25872-00-00

    Hose, Brake 1

    1
    Доступно: Нет в наличии
  • 9
    90401-10020-00

    Болт-штуцер

    2
    Доступно: Нет в наличии
  • 10
    90430-10005-00

    Washer, Needle Valve

    4
    Доступно: Нет в наличии
  • 11
    97007-06025-00

    BOLT

    2
    Replaced by 970-17060-25-00 Доступно: Нет в наличии
  • 11
    970-17060-25-00

    Bolt, Hexagon

    2
    Доступно: Нет в наличии
  • 12
    92907-06600-00

    Washer, Plate

    2
    Доступно: Нет в наличии