Стартер электрический
Стартер электрический
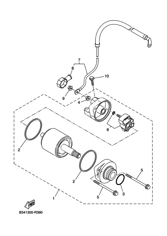
Стартер электрический в сборе (Ref #1)
1
Part #1WS-81890-00-00
Прокладка (Ref #2)
2
Part #4B5-81844-00-00
Прокладка (Ref #2)
2
Part #4B5-81844-00-00
Прокладка (Ref #2)
2
Part #4B5-81844-00-00
Прокладка (Ref #2)
2
Part #4B5-81844-00-00
Washer, Needle Valve (Ref #3)
3
Part #93210-24235-00
Nut, flange (Ref #4)
4
Part #4XV-8182A-00-00
Болт (Ref #5)
5
Part #18P-81826-00-00
Болт (Ref #5)
5
Part #18P-81826-00-00
Болт (Ref #5)
5
Part #18P-81826-00-00
Болт (Ref #5)
5
Part #18P-81826-00-00
Щётки (Ref #6)
6
Part #18P-81801-00-00
Провод стартера (Ref #7)
7
Part #1WS-81815-00-00
Колпачок провода (Ref #8)
8
Part #4B5-81871-00-00
BOLT (Ref #10)
10
Part #91317-06025-00
-
31FK-81847-00-00
Washer, Needle Valve
1Replaced by 93210-24235-00 Доступно: Нет в наличии
