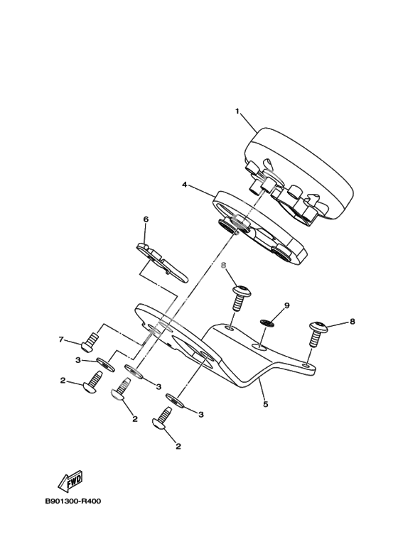
Панель приборов
Панель приборов
Meter Assy (Mph) (Ref #1)
1
Part #B90-83500-10-00
Спидометр (КМ/Ч) (Ref #1)
1
Part #B90-83500-00-00
Демпфер (Ref #4)
4
Part #B90-83513-00-00
Крепление (Ref #5)
5
Part #B90-8355X-00-00
Скоба (Ref #6)
6
Part #B90-83599-00-00
BOLT (Ref #7)
7
Part #92017-06012-00
Болт (Ref #8)
8
Part #90111-06038-00
Болт (Ref #8)
8
Part #90111-06038-00
Болт (Ref #8)
8
Part #90111-06038-00
Болт (Ref #8)
8
Part #90111-06038-00
Эмблема (Ref #9)
9
Part #14B-2836B-00-00
