Counter Shaft, Chain
Counter Shaft, Chain
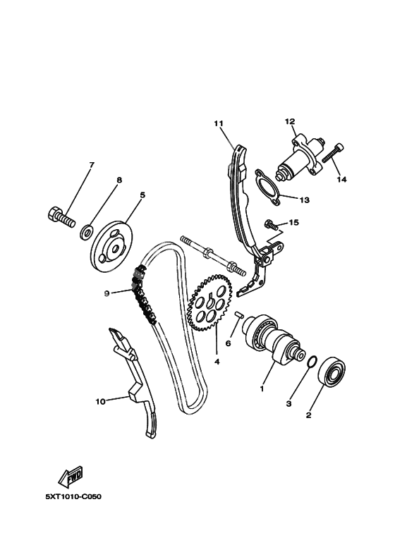
Camshaft Assy 1 (Ref #1)
1
Part #5XT-12170-00-00
BEARING (Ref #2)
2
Part #93306-20204-00
Кольцо уплотнительное (Ref #3)
3
Part #93210-11453-00
Звездочка, цепь кулака (Ref #4)
4
Part #5XT-12176-00-00
Тарелка (Ref #5)
5
Part #4KB-11145-00-00
Pin, Dowel (Ref #6)
6
Part #93604-10011-00
BOLT (Ref #7)
7
Part #90101-10303-00
Washer, Plate (Ref #8)
8
Part #90201-10774-00
Цепь (Ref #9)
9
Part #94582-19104-00
Guide, Stopper 1 (Ref #10)
10
Part #5BP-12231-00-00
Guide, Stopper 2 (Ref #11)
11
Part #5XT-12241-01-00
Натяжитель, цепь кулака (Ref #12)
12
Part #5XT-12210-00-00
Washer, Needle Valve (Ref #13)
13
Part #4FM-12213-00-00
BOLT (Ref #14)
14
Part #91314-06025-00
Screw, With Washer (Ref #15)
15
Part #97017-06014-00
-
115XT-12241-00-00
Направляющая стопора 2
1Replaced by 5XT-12241-01-00 Доступно: Нет в наличии
