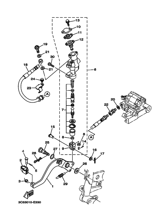
Rear master cylinder
Rear master cylinder
Pedal, Brake (Ref #1)
1
Part #3C5-27211-10-00
Pedal, Brake (Ref #2)
2
Part #55V-27242-00-00
Spring, Pilot Adjusting (Ref #3)
3
Part #90508-14352-00
. PIN (Ref #4)
4
Part #91701-06022-00
. PIN (Ref #5)
5
Part #91490-20025-00
. PIN (Ref #5)
5
Part #91490-20015-00
Rr. Master Cylinder Assy (Ref #6)
6
Part #5XT-2583V-10-00
Комплект главного цилиндра (Ref #7)
7
Part #5XT-W0042-50-00
Nut, flange (Ref #8)
8
Part #95317-08700-00
Nut, flange (Ref #8)
8
Part #95317-08700-00
Nut, flange (Ref #8)
8
Part #95317-08700-00
Nut, flange (Ref #8)
8
Part #95317-08700-00
JOINT (Ref #9)
9
Part #2YK-27222-00-00
Крышка (Ref #10)
10
Part #5UN-25852-50-00
Пластина диафрагмы (Ref #11)
11
Part #5UN-2585B-00-00
Диафрагма (Ref #12)
12
Part #5UN-25854-00-00
Болт (Ref #13)
13
Part #5UN-27217-00-00
Pin, brake rod (Ref #14)
14
Part #3KW-27234-00-00
Штифт, вилкообразный наконечник (Ref #15)
15
Part #90240-08124-00
Washer, Plate (Ref #16)
16
Part #90201-08083-00
Шплинт (Ref #17)
17
Part #91490-16020-00
Hose, Brake 2 (Ref #18)
18
Part #3C5-25873-00-00
Болт соединяющий (Ref #19)
19
Part #90401-10172-00
Washer, Needle Valve (Ref #20)
20
Part #90430-10005-00
JOINT (Ref #22)
22
Part #3LC-25885-00-00
Holder, Brake Hose (Ref #23)
23
Part #3C5-25887-00-00
BOLT (Ref #24)
24
Part #90105-06069-00
Болт (Ref #24)
24
Part #95817-06008-00
SHAFT (Ref #25)
25
Part #2YK-27261-00-00
Washer, Plate (Ref #26)
26
Part #90201-105J4-00
Шайба пружинная (Ref #27)
27
Part #90206-14001-00
CLIP (Ref #28)
28
Part #90468-16191-00
Пружина (Ref #29)
29
Part #90506-23008-00
Винт (Ref #30)
30
Part #90149-06302-00
-
-
Цена: 550.00 р.
Доступно: 2
-
