Front
Front
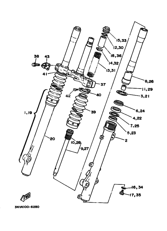
Front Fork Assembly (L.h) (Ref #1)
1
Part #55V-23102-A1-00
Tube, Outer (Left) (Ref #2)
2
Part #48Y-23126-01-00
Стопор (Ref #3)
3
Part #4A1-23156-00-00
Oil seal (Ref #4)
4
Part #48Y-23145-00-00
Металическая вставка 1 (Ref #5)
5
Part #30X-23125-00-00
PLATE, SEAL DAMPER (Ref #6)
6
Part #48Y-23144-00-00
Шайба (Ref #7)
7
Part #5K5-23149-00-00
Внутренняя трубка (Ref #8)
8
Part #30X-23110-00-00
Цилиндр, передняя вилка (Ref #9)
9
Part #55V-23170-00-00
Крышка картера 2 (Ref #10)
10
Part #999-99999-99-00
Spindle, Taper (Ref #11)
11
Part #39K-23173-00-00
Washer, Needle Valve (Ref #12)
12
Part #1W1-23114-L0-00
Пружина передней вилки (Ref #13)
13
Part #30X-23141-00-00
Шайба пружины (Ref #14)
14
Part #4FY-23149-00-00
Болт стакана (Ref #15)
15
Part #53Y-23111-00-00
Washer, Needle Valve (Ref #16)
16
Part #509-23158-L0-00
Bolt, Hexagon Socket Head (Ref #17)
17
Part #3D8-23181-00-00
SPACER (Ref #18)
18
Part #4V5-23118-L1-00
Front Fork Assembly (R.h) (Ref #19)
19
Part #55V-23103-A1-00
Tube, Outer (Right) (Ref #20)
20
Part #48Y-23136-01-00
UNDER BRACKET COMP. (Ref #37)
37
Part #55V-23340-00-00
BOLT (Ref #38)
38
Part #95024-08040-00
Ботинок (Ref #39)
39
Part #3YT-23191-30-00
BAND (Ref #40)
40
Part #48Y-23192-00-00
Лента (Ref #41)
41
Part #341-92090-60-00
Screw, Boot Band (Ref #42)
42
Part #1W4-23194-L0-00
Крепление светоотражателя (Ref #43)
43
Part #49R-85112-00-00
-
102X1-23151-00-00
Spring, Pilot Adjusting
1Replaced by 999-99999-99-00 Доступно: Нет в наличии
-
113R6-23173-L0-00
Spindle, Taper
1Replaced by 39K-23173-00-00 Доступно: Нет в наличии
-
17278-23181-50-00
Bolt, Hexagon Socket Head
1Replaced by 3D8-23181-00-00 Доступно: Нет в наличии
