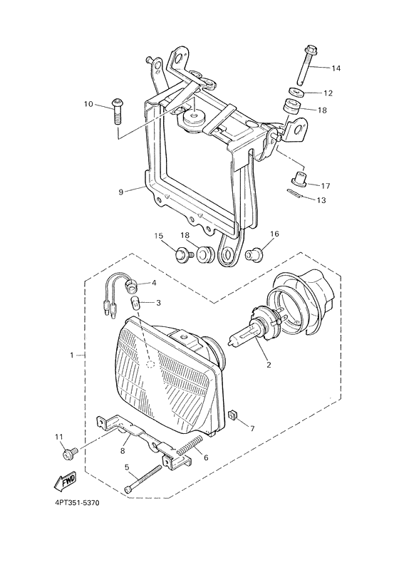
Headlight
Headlight
-
022F9-84314-00-00
Bulb (12V 60/55W Halogen)
1Replaced by 5V2-84314-00-XX Доступно: Нет в наличии
-
065G2-84332-60-00
Пружина, винт
2Replaced by 341-84332-60-00 Доступно: Нет в наличии
-
1590119-06097-00
Screw, With Washer
1Replaced by 970-17060-25-00 Доступно: Нет в наличии
-
1590119-06172-00
Screw, With Washer
0Replaced by 90387-063E6-00 Доступно: Нет в наличии
