Battery
Battery
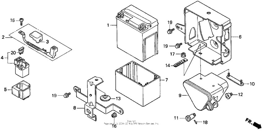
Аккумулятор (Ref #1)
1
Part #31500-KW3-676AH
Cable (Ref #2)
2
Part #32401-KBG-000
COVER (Ref #3)
3
Part #32406-KAZ-010
Switch assy (Ref #4)
4
Part #35850-KR3-870
RUBBER (Ref #5)
5
Part #35856-KBG-007
Tray, battery (Ref #6)
6
Part #50325-KBG-000
Rubber, battery (Ref #7)
7
Part #50326-KR3-870
Band, battery tray (Ref #8)
8
Part #50327-KBG-000
Box, tool (Ref #9)
9
Part #83501-KB4-000
PLATE (Ref #10)
10
Part #83503-471-000
Body, key (Ref #11)
11
Part #83507-438-000
Stopper, key body (Ref #12)
12
Part #83508-KBG-000
Rubber, battery box (Ref #13)
13
Part #83618-323-000
Clip, tube (Ref #14)
14
Part #90010-GE0-710
Bolt, socket (5x9) (Ref #15)
15
Part #90111-MR5-000
ナット (Ref #16)
16
Part #94050-06070
Гайка (Ref #17)
17
Part #94050-06080
Штифт пружины (Ref #18)
18
Part #9430520141
Fuse (Ref #20)
20
Part #98200-32000
