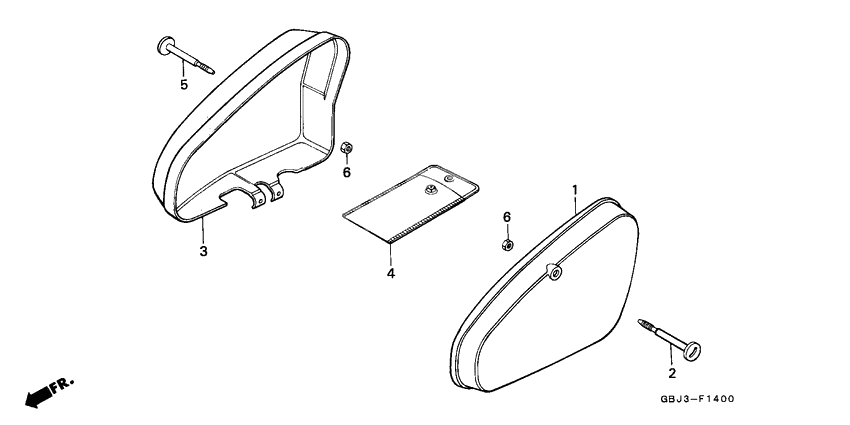
Side cover
Side cover
Box (Ref #1)
1
Part #83500-086-000ZM
Box (Ref #1)
1
Part #83500-086-000YJ
Box (Ref #1)
1
Part #83500-086-000A8
Box comp (Ref #1)
1
Part #83500-086-000A5
Box,tool*pb-109* (Ref #1)
1
Part #83500-086-000ZY
Box,tool*r-110* (Ref #1)
1
Part #83500-086-010ZK
Latch,tool box (Ref #2)
2
Part #83550-GB4-680
Box (Ref #3)
3
Part #83600-086-000YJ
Box (Ref #3)
3
Part #83600-086-000ZD
Box,bat*r-110* (Ref #3)
3
Part #83600-086-000ZQ
Cover,bat*pb-109* (Ref #3)
3
Part #83600-086-000ZE
Box (Ref #3)
3
Part #83600-086-000YY
Box (Ref #3)
3
Part #83600-086-000YV
Bag,owners manual (Ref #4)
4
Part #83642-171-000
Latch,bat box (Ref #5)
5
Part #83650-GB4-680
Гайка (Ref #6)
6
Part #94001-062-000-S
Гайка (Ref #6)
6
Part #94001-062-000-S
Гайка (Ref #6)
6
Part #94001-062-000-S
Гайка (Ref #6)
6
Part #94001-062-000-S
-
183500-086-000ZK
Box,tool*r-110*
1Replaced by 83500-086-010ZK Доступно: Нет в наличии
