Phare C50SP/C50ST
Phare C50SP/C50ST
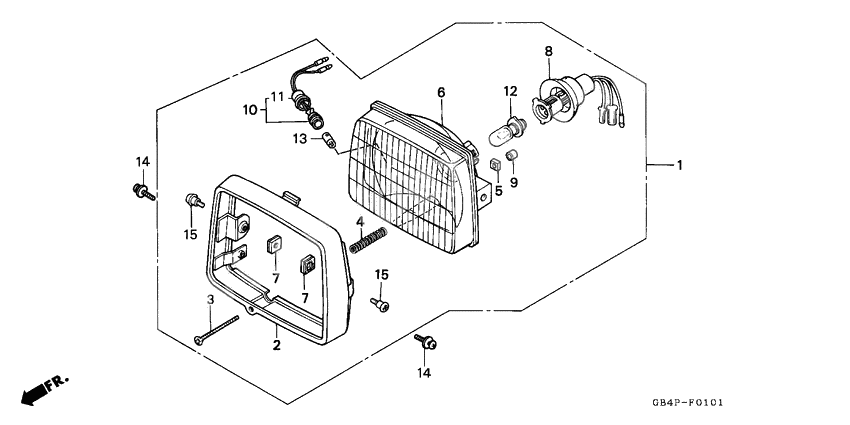
Headlight assy (Ref #1)
1
Part #33100-GK4-600
Rim,headlight (Ref #2)
2
Part #33101-GB0-931
Screw,beam adjust (Ref #3)
3
Part #33103-GB0-931
SPRING,ADJUSTING (Ref #4)
4
Part #33107-GB0-931
Nut,beam adjust (Ref #5)
5
Part #33117-092-671
Unit headlight (Ref #6)
6
Part #33120-GB4-691
Nut,unit holder (Ref #7)
7
Part #33128-438-841
Nut,unit holder (Ref #7)
7
Part #33128-438-841
Nut,unit holder (Ref #7)
7
Part #33128-438-841
Nut,unit holder (Ref #7)
7
Part #33128-438-841
Socket,headlight (Ref #8)
8
Part #33130-GB4-691
Cvr, adjusting screw (Ref #9)
9
Part #33136-111-671
Socket,position (Ref #10)
10
Part #33150-166-003
Rubber, joint (Ref #11)
11
Part #33155-166-003
Bulb, headlight (stanley) (12v 25/25w) (Ref #12)
12
Part #34901-706-000
Bulb (12v4w) (t8/4) (Ref #13)
13
Part #34903-388-611
Screw, headlight setting (Ref #14)
14
Part #90102-GB4-680
Screw, headlight setting (Ref #14)
14
Part #90102-GB4-680
Screw, headlight setting (Ref #14)
14
Part #90102-GB4-680
Screw, headlight setting (Ref #14)
14
Part #90102-GB4-680
Bolt,special (Ref #15)
15
Part #90150-GK4-000
Bolt,special (Ref #15)
15
Part #90150-GK4-000
Bolt,special (Ref #15)
15
Part #90150-GK4-000
Bolt,special (Ref #15)
15
Part #90150-GK4-000
-
1234901-066-003
Bulb, headlight (stanley) (12v 25/25w)
1Replaced by 34901-706-000 Доступно: Нет в наличии
