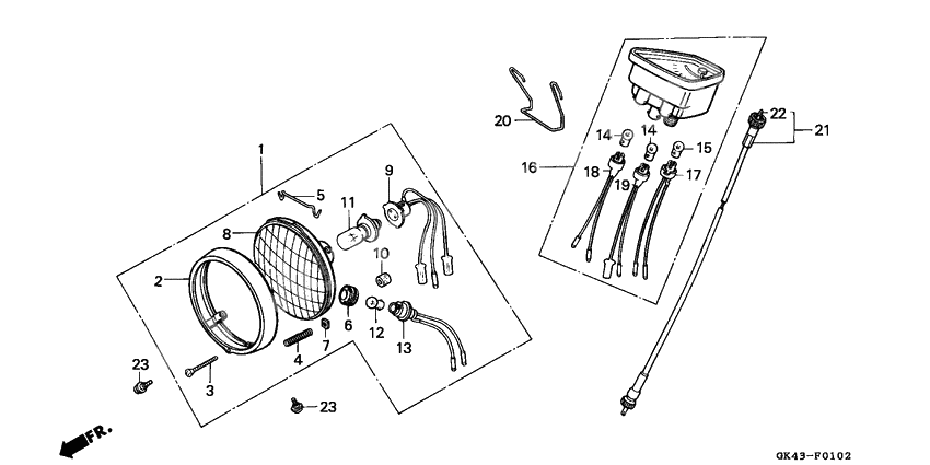
Headlight/speedometer C50J/N
Headlight/speedometer C50J/N
Headlight assy (Ref #1)
1
Part #33100-GB4-601
Rim,head light (Ref #2)
2
Part #33101-041-023
Screw,head light (Ref #3)
3
Part #33102-041-003
Пружина (Ref #4)
4
Part #33107-030-003
Spring holder (Ref #5)
5
Part #33109-087-003
Rubber,socket (Ref #6)
6
Part #33111-088-000
Nut, beam adj. (Ref #7)
7
Part #33117-041-003
Блок освещения (Ref #8)
8
Part #33120-GB4-601
Socket,comp,h/l (Ref #9)
9
Part #33130-GB4-701
Cvr, adjusting screw (Ref #10)
10
Part #33136-111-671
Bulb, headlight (stanley) (12v 25/25w) (Ref #11)
11
Part #34901-706-000
Bulb (12v4w) (t8/4) (Ref #12)
12
Part #34903-388-611
Socket,position (Ref #13)
13
Part #34904-086-003
Bulb, wedge base (t10) (12v 3.4w) (nippon seiki) (Ref #14)
14
Part #37237-SA5-003
Bulb, wedge base (t10) (12v 3.4w) (nippon seiki) (Ref #14)
14
Part #37237-SA5-003
Bulb, wedge base (t10) (12v 3.4w) (nippon seiki) (Ref #14)
14
Part #37237-SA5-003
Bulb, wedge base (t10) (12v 3.4w) (nippon seiki) (Ref #14)
14
Part #37237-SA5-003
Bulb (Ref #15)
15
Part #34908-GB4-700
Панель измерителей (Ref #16)
16
Part #37200-GB4-600
Socket,illumi (Ref #17)
17
Part #37224-GB4-000
Socket,win/pilot (Ref #18)
18
Part #37225-GB5-671
Socket comp.,neut (Ref #19)
19
Part #37226-GB4-600
Spring,spdmt (Ref #20)
20
Part #37244-086-000
Cable,spdmt (Ref #21)
21
Part #44830-GB4-000
Cable,inner (Ref #22)
22
Part #44831-382-010
Screw, headlight setting (Ref #23)
23
Part #90101-087-720
Screw, headlight setting (Ref #23)
23
Part #90101-087-720
Screw, headlight setting (Ref #23)
23
Part #90101-087-720
Screw, headlight setting (Ref #23)
23
Part #90101-087-720
-
1134901-066-003
Bulb, headlight (stanley) (12v 25/25w)
1Replaced by 34901-706-000 Доступно: Нет в наличии
-
1437237-SA5-003
Bulb, wedge base (t10) (12v 3.4w) (nippon seiki)
2Доступно: Нет в наличии
-
1434908-GA7-701
Bulb, wedge base (t10) (12v 3.4w) (nippon seiki)
2Replaced by 37237-SA5-003 Доступно: Нет в наличии
