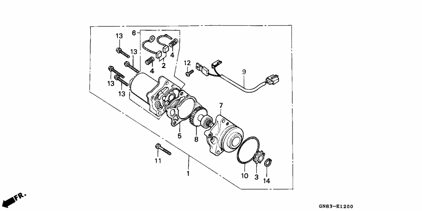
Starting motor C90MP/MT
Starting motor C90MP/MT
Набор щёток (Ref #2)
2
Part #31201-187-701
Звездочка (Ref #3)
3
Part #31202-GB2-700
Пружина щетки (Ref #4)
4
Part #31204-187-701
Пружина щетки (Ref #4)
4
Part #31204-187-701
Пружина щетки (Ref #4)
4
Part #31204-187-701
Пружина щетки (Ref #4)
4
Part #31204-187-701
PACKING (Ref #5)
5
Part #31205-GB4-701
Motor,only (Ref #6)
6
Part #31208-GB4-701
Case a,fr. (Ref #7)
7
Part #31211-GB4-701
Ведущая шестерня (Ref #8)
8
Part #31213-GB4-701
Sub harness a (Ref #9)
9
Part #32410-GN5-901
O-ring a (Ref #10)
10
Part #91308-GB4-701
Болт (Ref #11)
11
Part #92101-06045-0A
Screw-washer (Ref #12)
12
Part #93892-040-060-8
Circlip (Ref #14)
14
Part #91309-GES-003
