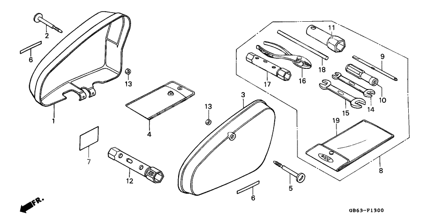
Tool box/tools/ battery box
Tool box/tools/ battery box
S/cov,*pb-121m-s* (Ref #1)
1
Part #83500-GB4-680ZB
Cover r side*r4c* (Ref #1)
1
Part #83500-GB4-680ZH
S/cov*yr-118m-s* (Ref #1)
1
Part #83500-GB4-680ZC
Latch,tool box (Ref #2)
2
Part #83550-GB4-680
S/cov*pb-121m-s* (Ref #3)
3
Part #83600-GB4-680ZB
S/cov*yr-118m-s* (Ref #3)
3
Part #83600-GB4-680ZC
Cover l side*r4c* (Ref #3)
3
Part #83600-GB4-680ZH
Bag,owners manual (Ref #4)
4
Part #83642-171-000
Latch,bat box (Ref #5)
5
Part #83650-GB4-680
Mark,bat.caution (Ref #7)
7
Part #87506-GB4-600
Tool set (Ref #8)
8
Part #89010-174-770
Инструмент для завинчивания отвертка (Ref #9)
9
Part #89102-538-000
Grip (Ref #10)
10
Part #89103-538-000
Wrench,box 23mm (Ref #11)
11
Part #89214-041-000
Wrench, spark plug (Ref #12)
12
Part #89216-045-010
Гайка (Ref #13)
13
Part #94001-062-000-S
Гайка (Ref #13)
13
Part #94001-062-000-S
Гайка (Ref #13)
13
Part #94001-062-000-S
Гайка (Ref #13)
13
Part #94001-062-000-S
Spanner, 8x12 (Ref #14)
14
Part #9900108120
Spanner, 10x14 (Ref #15)
15
Part #9900110140
Клещи (Ref #16)
16
Part #89210-GBJ-J10
Wrench, box (p16x17) (Ref #17)
17
Part #9900416170
Bar a, handle (Ref #18)
18
Part #9900501000
Bag (Ref #19)
19
Part #99008-01600
