Stripe/emblem CB125TP
Stripe/emblem CB125TP
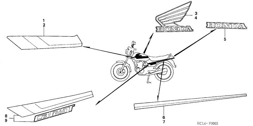
Наклейка (Ref #1)
1
Part #17506-KC1-980ZA
Наклейка (Ref #2)
2
Part #17507-KC1-980ZA
Mark,r.fue*type1* (Ref #3)
3
Part #17516-KC1-980ZA
Mark,l.fue*type1* (Ref #4)
4
Part #17517-KC1-980ZA
MARK (Ref #5)
5
Part #77209-KC1-980ZA
Наклейка (Ref #6)
6
Part #77228-KC1-980ZA
Наклейка (Ref #7)
7
Part #77229-KC1-980ZA
Stripe,r.s*type1* (Ref #8)
8
Part #87124-KC1-980ZA
Stripe,l.s*type1* (Ref #9)
9
Part #87125-KC1-980ZA
