Lower cowl CBR600RR7/8
Lower cowl CBR600RR7/8
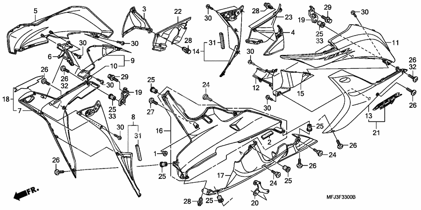
Collar a, taillight (Ref #1)
1
Part #33712-GC2-000
Rubber, seat (Ref #2)
2
Part #50226-MY5-610
Cover, r. headlight (Ref #3)
3
Part #64230-MFJ-D00
Cover, l. headlight (Ref #4)
4
Part #64240-MFJ-D00
Mid cowl a,r (Ref #5)
5
Part #64300-MFJ-D00ZG
Cowl set (Ref #5)
5
Part #64300-MFJ-D00ZA
Cowl set (Ref #5)
5
Part #64300-MFJ-D00ZH
Cowl set (Ref #5)
5
Part #64300-MFJ-D00ZJ
Cover a, r. middle (Ref #6)
6
Part #64315-MFJ-D00
Cowl b (Ref #7)
7
Part #64320-MFJ-D00ZD
Cowl b,r middle (Ref #7)
7
Part #64320-MFJ-D00ZB
Cowl b (Ref #7)
7
Part #64320-MFJ-D00ZE
Cowl, r. middle (Ref #8)
8
Part #64325-MFJ-D00
Cover b, r. middle (Ref #9)
9
Part #64335-MFJ-D00
Protector b (Ref #10)
10
Part #64337-MFJ-D00
Cowl set (Ref #11)
11
Part #64350-MFJ-D00ZA
Cowl set (Ref #11)
11
Part #64350-MFJ-D00ZJ
Cowl set (Ref #11)
11
Part #64350-MFJ-D00ZH
Set ilust,l mid (Ref #11)
11
Part #64350-MFJ-D00ZG
Cover a, l. middle (Ref #12)
12
Part #64365-MFJ-D00
Cowl b (Ref #13)
13
Part #64370-MFJ-D00ZE
Cowl b,l middle (Ref #13)
13
Part #64370-MFJ-D00ZB
Cowl b (Ref #13)
13
Part #64370-MFJ-D00ZD
Cowl, l. middle (Ref #14)
14
Part #64375-MFJ-D00
Cover b, l. middle (Ref #15)
15
Part #64385-MFJ-D00
Cowl set (Ref #16)
16
Part #64400-MFJ-D00ZD
Cowl set (Ref #16)
16
Part #64400-MFJ-D00ZA
Cowl set, r. (type3) (Ref #16)
16
Part #64400-MFJ-D00ZE
Cowl set, l. (type3) (Ref #17)
17
Part #64450-MFJ-D00ZE
Cowl set (Ref #17)
17
Part #64450-MFJ-D00ZD
Cowl set (Ref #17)
17
Part #64450-MFJ-D00ZA
Stay, middle cowl (Ref #19)
19
Part #64512-MFJ-D00
Stay, middle cowl (Ref #19)
19
Part #64512-MFJ-D00
Stay, middle cowl (Ref #19)
19
Part #64512-MFJ-D00
Stay, middle cowl (Ref #19)
19
Part #64512-MFJ-D00
Stay, l. cowl (Ref #20)
20
Part #64515-MFJ-D00
Cowl, r. (upper) (Ref #22)
22
Part #64580-MFJ-D00
Cowl, l. (upper) (Ref #23)
23
Part #64590-MFJ-D01
Screw, pan (6x14) (Ref #27)
27
Part #90118-MR1-000
Bolt-washer (6x14) (Ref #29)
29
Part #93401-0601400
Bolt-washer (6x14) (Ref #29)
29
Part #93401-0601400
Bolt-washer (6x14) (Ref #29)
29
Part #93401-0601400
Bolt-washer (6x14) (Ref #29)
29
Part #93401-0601400
Rubber, protector (Ref #31)
31
Part #64327-MFJ-D00
Rubber, protector (Ref #31)
31
Part #64327-MFJ-D00
Rubber, protector (Ref #31)
31
Part #64327-MFJ-D00
Rubber, protector (Ref #31)
31
Part #64327-MFJ-D00
-
-
Цена: 980.00 р.
Доступно: 1
-
