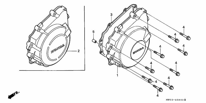
Generator cover
Generator cover
Cover,acg (Ref #1)
1
Part #11321-MER-D00
Прокладка (Ref #3)
3
Part #11392-MV9-670
Dowel pin (Ref #5)
5
Part #94301-10160
