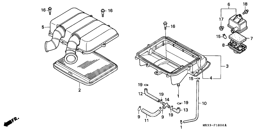
Воздушный фильтр
Воздушный фильтр
Фильтр воздушный (Ref #2)
2
Part #17210-KT8-000
Case sub, a/clnr (Ref #3)
3
Part #17220-MN4-300
Валик (Ref #4)
4
Part #17222-MN4-405
Cover, air cleaner (Ref #5)
5
Part #17230-MN4-770
Case, sub a/clnr (Ref #6)
6
Part #17251-KT8-000
Filter, sub a/clnr (Ref #7)
7
Part #17253-KT8-000
Cover, sub a/clnr (Ref #8)
8
Part #17256-MM4-000
CLIP (Ref #9)
9
Part #17369-KB4-670
CLIP (Ref #9)
9
Part #17369-KB4-670
CLIP (Ref #9)
9
Part #17369-KB4-670
CLIP (Ref #9)
9
Part #17369-KB4-670
Tube, breather (Ref #11)
11
Part #17552-MN4-000
Tube, r. breather (Ref #12)
12
Part #17553-MN4-000
Tube, l. breather (Ref #13)
13
Part #17554-MN4-000
JOINT (Ref #14)
14
Part #17555-MN4-000
CLIP (Ref #15)
15
Part #17724-102-700
CLIP (Ref #15)
15
Part #17724-102-700
CLIP (Ref #15)
15
Part #17724-102-700
CLIP (Ref #15)
15
Part #17724-102-700
Washer, chain case setting (Ref #17)
17
Part #90522-028-000
Screw-washer (Ref #18)
18
Part #93894-050-160-0
