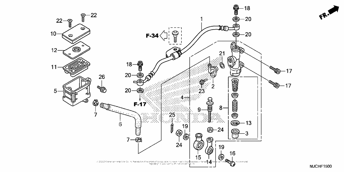
Задний тормозной цилиндр 1
Задний тормозной цилиндр 1
Hose, rr. brake (Ref #1)
1
Part #43310-MFJ-D02
Коннектор (Ref #2)
2
Part #43503-MEE-006
Ботинок (Ref #3)
3
Part #43504-MB2-006
M/cyl sub-assy, rr. (Ref #4)
4
Part #43510-MFJ-305
Cup, oil (Ref #5)
5
Part #43511-KV3-831
Hose, rr. master cyl (Ref #6)
6
Part #43512-MFJ-D01
CLAMP (Ref #7)
7
Part #43514-KS6-701
PISTON SET (Ref #8)
8
Part #43520-MB2-315
Штанга (Ref #9)
9
Part #43530-MCZ-006
Cap, master cylinder (Ref #10)
10
Part #45513-HR0-305
DIAPHRAGM (Ref #11)
11
Part #45520-MG7-006
Пластина (Ref #12)
12
Part #45521-HA2-006
Circlip (Ref #13)
13
Part #46182-MEL-D21
Tie rod (Ref #14)
14
Part #46505-MFJ-D01
Пыльник (Ref #15)
15
Part #46506-MFJ-D00
Bolt, socket (8x30) (Ref #16)
16
Part #90125-MCJ-750
Bolt, socket (6x20) (Ref #17)
17
Part #90135-MEL-000
Bolt, oil (10x22) (Ref #18)
18
Part #90145-MS9-612
Washer, special, 8mm (Ref #19)
19
Part #90443-GC8-000
Шайба (Ref #20)
20
Part #90545-300-000
Прокладка (Ref #21)
21
Part #91212-422-006
Screw, flat (4x40) (Ref #22)
22
Part #93600-040401G
Screw-washer (Ref #23)
23
Part #93893-040-120-7
Гайка (Ref #24)
24
Part #94002-080-000-S
PIN (Ref #25)
25
Part #94201-20150
Болт (Ref #26)
26
Part #96300-0601600
