Battery CH125J/L/M/N/P/R
Battery CH125J/L/M/N/P/R
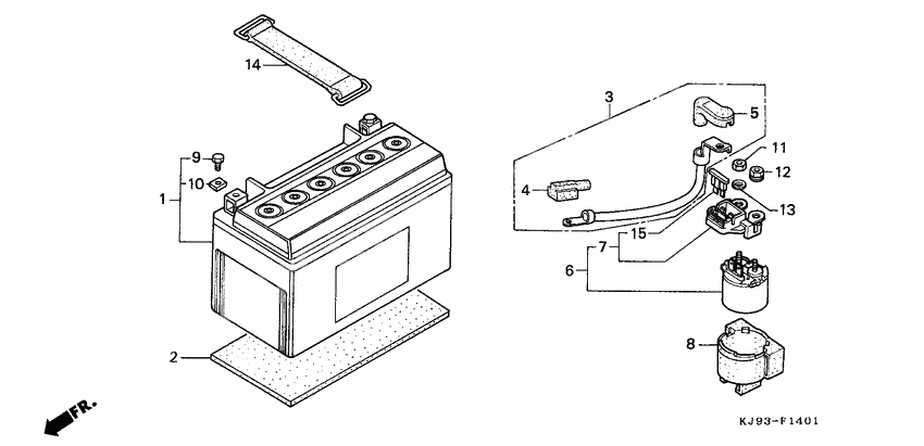
Battery (yuasa) ( (Ref #1)
1
Part #31500-MN4-605
Cushion,battery (Ref #2)
2
Part #31508-KV7-670
Cord,batt,plus (Ref #3)
3
Part #32401-KV7-670
Bat cov terminal (Ref #4)
4
Part #32412-MJ1-670
Cover b (Ref #5)
5
Part #32416-MF5-000
Sw assy st/magnet (Ref #6)
6
Part #35850-MG7-751
Holder assy., fuse (Ref #7)
7
Part #35855-MG7-751
Rubber, shock (Ref #8)
8
Part #35856-MF5-751
Bolt, battery terminal (Ref #9)
9
Part #90122-VM0-007
Nut, battery terminal (Ref #10)
10
Part #90306-KM1-831
Гайка (Ref #11)
11
Part #94002-060-800-S
Nut-washer (Ref #12)
12
Part #94070-06080
Шайба (Ref #13)
13
Part #94111-06800
Band b2, battery (Ref #14)
14
Part #9501213001
Fuse (Ref #15)
15
Part #98200-32000
