Rear cushion
Rear cushion
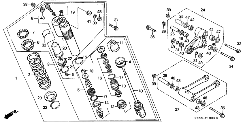
Cushion.assy.rr (Ref #1)
1
Part #52400-KZ3-741
Пружина (Ref #2)
2
Part #52402-KZ3-831
Пружина (Ref #2)
2
Part #52401-ML3-921
Пружина (Ref #2)
2
Part #52401-KZ3-701
Damper,comp.rr (Ref #3)
3
Part #52410-KZ3-741
Stopper, spring seat (Ref #4)
4
Part #52419-KZ3-003
Rod.comp.piston (Ref #5)
5
Part #52421-KZ3-701
Adjuster, spring (Ref #6)
6
Part #52422-KS7-701
Nut, adjuster (Ref #7)
7
Part #52423-KS7-701
Case, shock absorber (Ref #8)
8
Part #52425-ML3-911
Чашка воздушного клапана (Ref #9)
9
Part #52425-169-003
ROD (Ref #10)
10
Part #52426-KZ3-701
Rubber, stopper (Ref #11)
11
Part #52427-KZ3-003
Plate, end (Ref #12)
12
Part #52428-KA4-832
Case, rod guide (Ref #13)
13
Part #52429-ML3-841
Кольцо поршневое (Ref #14)
14
Part #52431-KA4-831
Кольцо (Ref #15)
15
Part #52435-KS7-831
Oil seal set (Ref #16)
16
Part #52436-ML3-305
Кольцо (Ref #17)
17
Part #52437-KA4-841
Кольцо (Ref #17)
17
Part #52437-KA4-841
Кольцо (Ref #17)
17
Part #52437-KA4-841
Кольцо (Ref #17)
17
Part #52437-KA4-841
Nut, hex. (12mm) (Ref #18)
18
Part #52438-KA4-741
Bolt, plug (Ref #19)
19
Part #52440-ML3-911
BLADDER (Ref #20)
20
Part #52451-KS7-831
Кольцо (Ref #21)
21
Part #52452-KS7-831
Cap, chamber (Ref #22)
22
Part #52453-KS7-831
Кольцо (Ref #23)
23
Part #52455-MM5-003
Arm, shock absorber (Ref #24)
24
Part #52460-KZ3-702
COLLAR (Ref #25)
25
Part #52463-KZ4-000
Collar, cushion arm (Ref #26)
26
Part #52464-KZ4-000
ROD ASSY (Ref #27)
27
Part #52470-KZ3-702
COLLAR (Ref #28)
28
Part #52473-KZ4-000
Пружина (Ref #29)
29
Part #52486-KZ3-003
Кольцо (Ref #30)
30
Part #52487-KA4-831
Кольцо (Ref #31)
31
Part #52487-KN5-000
Кольцо (Ref #31)
31
Part #52487-KN5-000
Кольцо (Ref #31)
31
Part #52487-KN5-000
Кольцо (Ref #31)
31
Part #52487-KN5-000
Label,rr.damper w (Ref #32)
32
Part #87516-KS6-780
Label, rr. (Ref #32)
32
Part #87516-KZ3-671
Bolt, flg (14x108) (Ref #33)
33
Part #90128-KZ4-010
Болт (Ref #34)
34
Part #90129-KZ4-010
Bolt, flg (12x118.5) (Ref #35)
35
Part #90130-KZ3-700
Болт (Ref #36)
36
Part #90153-KS7-830
Болт (Ref #37)
37
Part #90153-KK0-000
Nut, axle, 10mm (Ref #38)
38
Part #90304-GA6-003
Bearing (10) (Ref #40)
40
Part #91074-KS7-831
Bearing (10.1mm) (Ref #41)
41
Part #91077-KS7-013
Bearing (22x28x16) (Ref #42)
42
Part #91078-KS7-836
Bearing (22x28x16) (Ref #42)
42
Part #91078-KS7-836
Bearing (22x28x16) (Ref #42)
42
Part #91078-KS7-836
Bearing (22x28x16) (Ref #42)
42
Part #91078-KS7-836
Прокладка (Ref #44)
44
Part #91256-GC5-003
Прокладка (Ref #45)
45
Part #91257-KZ3-003
Dust seal (22x30x5) (Ref #47)
47
Part #91262-KS7-831
Dust seal (22x30x5) (Ref #47)
47
Part #91262-KS7-831
Dust seal (22x30x5) (Ref #47)
47
Part #91262-KS7-831
Dust seal (22x30x5) (Ref #47)
47
Part #91262-KS7-831
Dust seal, rr. shock (Ref #48)
48
Part #91351-KS7-003
Dust seal, rr. shock (Ref #48)
48
Part #91351-KS7-003
Dust seal, rr. shock (Ref #48)
48
Part #91351-KS7-003
Dust seal, rr. shock (Ref #48)
48
Part #91351-KS7-003
Dust seal, shock (Ref #49)
49
Part #91351-KS7-832
Dust seal, shock (Ref #49)
49
Part #91351-KS7-832
Dust seal, shock (Ref #49)
49
Part #91351-KS7-832
Dust seal, shock (Ref #49)
49
Part #91351-KS7-832
-
2452460-KZ3-700
Arm, shock absorber
1Replaced by 52460-KZ3-702 Доступно: Нет в наличии
-
3990306-KA4-003
Nut, flange (12mm)
3Replaced by 90306-181-761 Доступно: Нет в наличии
-
4291078-KS7-835
Bearing (22x28x16)
2Replaced by 91078-KS7-836 Доступно: Нет в наличии
-
4291078-KS7-834
Bearing (22x28x16)
2Replaced by 91078-KS7-836 Доступно: Нет в наличии
-
4391079-KS7-834
Bearing (20x26x20)
4Replaced by 91079-KZ3-731 Доступно: Нет в наличии
