Fr. brake master cylinder CR500RN/RP/RR/RS/RT/RV
Fr. brake master cylinder CR500RN/RP/RR/RS/RT/RV
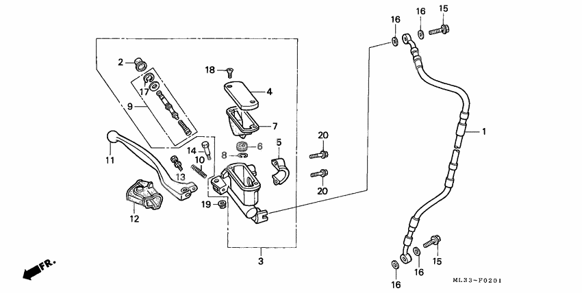
Hose, fr. brake (Ref #1)
1
Part #45125-MAC-681
Ботинок (Ref #2)
2
Part #45504-KN5-006
M/cyl sub-assy, fr. (Ref #3)
3
Part #45510-MEY-305
Cap, master cylinder (Ref #4)
4
Part #45513-KCE-671
HOLDER (Ref #5)
5
Part #45517-GW0-751
Сепаратор (Ref #6)
6
Part #45518-KA3-731
DIAPHRAGM (Ref #7)
7
Part #45520-KA3-731
RING (Ref #8)
8
Part #45523-KA3-731
PISTON SET (Ref #9)
9
Part #45530-KN5-305
Spring, brake lever (Ref #10)
10
Part #53174-KN5-006
Lever, strg hndl (Ref #11)
11
Part #53175-KPT-305
Lever, r. handle (Ref #11)
11
Part #53175-ML3-790
Cvr, r. handle lever (Ref #12)
12
Part #53176-ML3-791
Bolt set, adjuster (Ref #13)
13
Part #90111-ML3-791
BOLT (Ref #14)
14
Part #90114-166-006
Bolt, oil (10x22) (Ref #15)
15
Part #90145-MS9-612
Bolt, oil (10x22) (Ref #15)
15
Part #90145-MS9-612
Bolt, oil (10x22) (Ref #15)
15
Part #90145-MS9-612
Bolt, oil (10x22) (Ref #15)
15
Part #90145-MS9-612
Circlip (Ref #17)
17
Part #90651-MA5-671
Болт (Ref #18)
18
Part #93600-040120G
Гайка (Ref #19)
19
Part #94050-06000
Болт (Ref #20)
20
Part #96001-0602207
Болт (Ref #20)
20
Part #96001-0602207
Болт (Ref #20)
20
Part #96001-0602207
Болт (Ref #20)
20
Part #96001-0602207
-
345510-KCE-671
M/cyl sub-assy, fr.
1Replaced by 45510-MEY-305 Доступно: Нет в наличии
-
1153175-KCE-670
Lever, r. handlebar
1Replaced by 53175-KPT-305 Доступно: Нет в наличии
-
-
Цена: 550.00 р.
Доступно: 1
-
-
1590145-MS9-611
Bolt, oil (10x22)
2Replaced by 90145-MS9-612 Доступно: Нет в наличии
