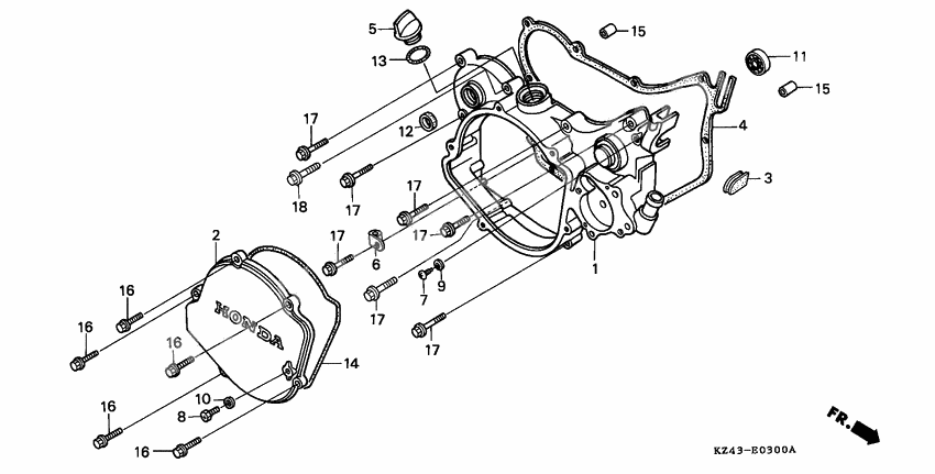
Right crankcase cover
Right crankcase cover
Cover, r. crankcase (Ref #1)
1
Part #11340-KZ4-700
Cover, clutch (Ref #2)
2
Part #11342-KS6-700
Grommet, r. cover (Ref #3)
3
Part #11343-KZ4-700
Gasket, r. cover (Ref #4)
4
Part #11394-KZ4-620
Cap, oil filler (Ref #5)
5
Part #15611-KA4-710
Bolt, special (6mm) (Ref #7)
7
Part #90035-360-000
Bolt, oil check (Ref #8)
8
Part #90037-360-000
Шайба (Ref #9)
9
Part #90543-KS6-830
Gasket, fr. (Ref #10)
10
Part #90543-273-000
Bearing (7x19x6) (Ref #11)
11
Part #91002-KA4-003
Oil seal (16.5x25x5) (Ref #12)
12
Part #91205-KA3-712
O-ring, 16mm (Ref #13)
13
Part #91303-800-000
O-ring, special (Ref #14)
14
Part #91311-KS6-700
Dowel pin (Ref #15)
15
Part #94301-08140
Dowel pin (Ref #15)
15
Part #94301-08140
Dowel pin (Ref #15)
15
Part #94301-08140
Dowel pin (Ref #15)
15
Part #94301-08140
Болт (Ref #18)
18
Part #96001-0604007
-
-
Цена: 1 350.00 р.
Доступно: 2
-
-
1291205-KA3-711
Oil seal (16.5x25x5)
1Replaced by 91205-KA3-712 Доступно: Нет в наличии
-
-
Цена: 280.00 р.
Доступно: 2
-
