Fr. brake master cyl. 90-91
Fr. brake master cyl. 90-91
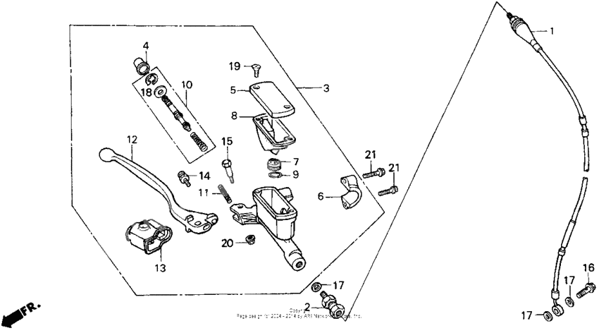
Hose, fr. brake (Ref #1)
1
Part #45125-KZ3-003
Joint, brake hose (Ref #2)
2
Part #45127-KZ4-003
*45510-ks6-405 (Ref #3)
3
Part #45500-KS6-841
Ботинок (Ref #4)
4
Part #45504-KN5-006
Cap, master cylinder (Ref #5)
5
Part #45513-KCE-006
HOLDER (Ref #6)
6
Part #45517-166-006
Сепаратор (Ref #7)
7
Part #45518-KA3-731
DIAPHRAGM (Ref #8)
8
Part #45520-KA3-731
RING (Ref #9)
9
Part #45523-KA3-731
PISTON SET (Ref #10)
10
Part #45530-KN5-305
Spring, brake lever (Ref #11)
11
Part #53174-KS6-831
Lever, r. handlebar (Ref #12)
12
Part #53175-KS6-671
Cover, r. handlebar (Ref #13)
13
Part #53176-KS6-006
Bolt set, adjuster (Ref #14)
14
Part #90111-ML3-791
BOLT (Ref #15)
15
Part #90114-166-006
Bolt, oil (10x22) (Ref #16)
16
Part #90145-MS9-612
Circlip (Ref #18)
18
Part #90651-MA5-671
Болт (Ref #19)
19
Part #93600-040120G
Гайка (Ref #20)
20
Part #94050-06000
Болт (Ref #21)
21
Part #96001-0602207
Болт (Ref #21)
21
Part #96001-0602207
Болт (Ref #21)
21
Part #96001-0602207
Болт (Ref #21)
21
Part #96001-0602207
