Сиденье & Боковой обтекатель
Сиденье & Боковой обтекатель
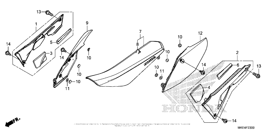
Cover, R. Air Cleaner Box *r292R* (Extreme Red) | Extreme Red R292R; (Ref #1)
1
Part #17231-MKE-A00ZA
Cover, L. Air Cleaner Box *r292R* (Extreme Red) | Extreme Red R292R; (Ref #2)
2
Part #17232-MKE-A00ZA
Mat a, r. (Ref #3)
3
Part #17233-MKE-A00
Mat a, l. (Ref #4)
4
Part #17234-MKE-A00
Mat b, r. (Ref #5)
5
Part #17235-MKE-A00
Mat b, l. (Ref #6)
6
Part #17236-MKE-A00
Seat (Type1) (Ref #7)
7
Part #77100-MKE-A01ZA
Leather, seat (Ref #8)
8
Part #77110-MKE-A01
Cover, r. si *nh196* (Ref #9)
9
Part #83510-MKE-A00ZA
RUBBER (Ref #10)
10
Part #83515-MKE-A00
WASHER (Ref #11)
11
Part #83516-MKE-A00
Cover, l. si *nh196* (Ref #12)
12
Part #83610-MKE-A00ZA
Bolt, special (8mm) (Ref #13)
13
Part #90121-MKE-A00
Болт (Ref #14)
14
Part #90126-MKE-A00
-
117231-MKE-A00ZA
Cover, R. Air Cleaner Box *r292R* (Extreme Red) | Extreme Red R292R;
1Доступно: Нет в наличии
-
217232-MKE-A00ZA
Cover, L. Air Cleaner Box *r292R* (Extreme Red) | Extreme Red R292R;
1Доступно: Нет в наличии
