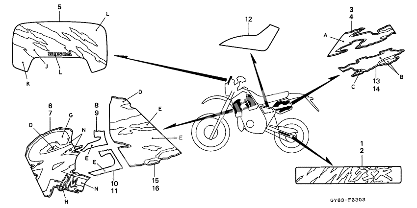
Label read the manual CRM75RR
Label read the manual CRM75RR
Mark rr fork r (Ref #1)
1
Part #87121-GY8-930
Mark rr fork l (Ref #2)
2
Part #87122-GY8-930
Stripe a r cover t1 (Ref #3)
3
Part #87123-GY8-950ZA
Stripe a r cover t2 (Ref #3)
3
Part #87123-GY8-950ZB
Stripe a l cover t2 (Ref #4)
4
Part #87124-GY8-950ZB
Stripe a l cover t1 (Ref #4)
4
Part #87124-GY8-950ZA
Sheet fr visor t2 (Ref #5)
5
Part #87125-GY8-950ZB
Sheet fr visor t1 (Ref #5)
5
Part #87125-GY8-950ZA
Mark r shroud t2 (Ref #6)
6
Part #87126-GY8-950ZB
Mark r shroud t1 (Ref #6)
6
Part #87126-GY8-950ZA
Mark l shroud t2 (Ref #7)
7
Part #87127-GY8-950ZB
Mark l shroud t1 (Ref #7)
7
Part #87127-GY8-950ZA
Stripe a r shroud t2 (Ref #8)
8
Part #87128-GY8-950ZB
Stripe a r shroud t1 (Ref #8)
8
Part #87128-GY8-950ZA
Stripe a l shroud t2 (Ref #9)
9
Part #87129-GY8-950ZB
Stripe a l shroud t1 (Ref #9)
9
Part #87129-GY8-950ZA
Stripe b r shroud t2 (Ref #10)
10
Part #87131-GY8-950ZB
Stripe b r shroud t1 (Ref #10)
10
Part #87131-GY8-950ZA
Stripe b l shroud t2 (Ref #11)
11
Part #87132-GY8-950ZB
Stripe b l shroud t1 (Ref #11)
11
Part #87132-GY8-950ZA
Sheet r. side cover (Ref #12)
12
Part #87134-GY8-900
Strp.b r side cover (Ref #13)
13
Part #87135-GY8-950ZB
Strp.b r side cover (Ref #13)
13
Part #87135-GY8-950ZA
Strp.b l side cover (Ref #14)
14
Part #87136-GY8-950ZB
Strp.b l side cover (Ref #14)
14
Part #87136-GY8-950ZA
Stripe r fuel tank t (Ref #15)
15
Part #87138-GY8-950ZB
Stripe r fuel tank t (Ref #15)
15
Part #87138-GY8-950ZA
Stripe l fuel tank t (Ref #16)
16
Part #87139-GY8-950ZB
Stripe l fuel tank t (Ref #16)
16
Part #87139-GY8-950ZA
