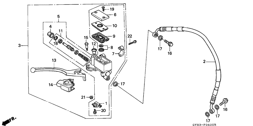
Fr. brake master cylinder
Fr. brake master cylinder
Switch, fr. stop (Ref #1)
1
Part #35340-MM5-600
Hose,front brake (Ref #2)
2
Part #45125-GZ8-621
Cylinder assy.,fr (Ref #3)
3
Part #45500-GY8-901
Ботинок (Ref #4)
4
Part #45504-410-003
Cap, master cylinder (Ref #6)
6
Part #45513-HR0-305
HOLDER (Ref #7)
7
Part #45517-166-006
Сепаратор (Ref #8)
8
Part #45518-MG3-016
DIAPHRAGM (Ref #9)
9
Part #45520-MG7-006
Пластина (Ref #10)
10
Part #45521-HA2-006
Master cylinder set (Ref #11)
11
Part #45530-KJ1-702
PLUG (Ref #12)
12
Part #53174-116-670
Lever, r. handlebar (Ref #13)
13
Part #53175-KBR-000
Cover,r.handle le (Ref #14)
14
Part #53176-GJ1-860
Bolt,handle lever (Ref #15)
15
Part #90114-GJ1-861
Bolt, oil (10x22) (Ref #16)
16
Part #90145-MS9-612
Bolt, oil (10x22) (Ref #16)
16
Part #90145-MS9-612
Bolt, oil (10x22) (Ref #16)
16
Part #90145-MS9-612
Bolt, oil (10x22) (Ref #16)
16
Part #90145-MS9-612
Circlip (Ref #18)
18
Part #90651-MA5-671
Болт (Ref #19)
19
Part #93600-040120G
Screw-washer (Ref #20)
20
Part #93893-040-120-7
Гайка (Ref #21)
21
Part #94050-06000
Болт (Ref #22)
22
Part #96001-0602207
-
645513-KK1-771
Cap, master cylinder
1Replaced by 45513-HR0-305 Доступно: Нет в наличии
-
-
-
1145530-KJ1-701
Master cylinder set
1Replaced by 45530-KJ1-702 Доступно: Нет в наличии
-
1353175-KJ1-730
Lever, r. handlebar
1Replaced by 53175-KBR-000 Доступно: Нет в наличии
-
1690145-MS9-611
Bolt, oil (10x22)
2Replaced by 90145-MS9-612 Доступно: Нет в наличии
