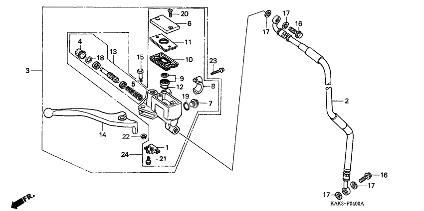
Fr. brake master cylinder
Fr. brake master cylinder
Switch, fr. stop (Ref #1)
1
Part #35340-MM5-600
Hose,fr.brake (Ref #2)
2
Part #45125-KAK-900
Cylinder assy.,fr (Ref #3)
3
Part #45500-KAK-900
Ботинок (Ref #4)
4
Part #45504-KB9-960
Пружина (Ref #5)
5
Part #45506-KB9-960
Cap,master cylind (Ref #6)
6
Part #45513-KR1-760
Gauge comp.,level (Ref #7)
7
Part #45515-KB9-960
Holder,master cyl (Ref #8)
8
Part #45517-KB9-960
Separator comp. (Ref #9)
9
Part #45518-KS3-900
DIAPHRAGM (Ref #10)
10
Part #45520-KB9-960
PLATE,DIAPHRAGM (Ref #11)
11
Part #45521-KR1-760
RING (Ref #12)
12
Part #45523-KS3-900
Cylinder set,mast (Ref #13)
13
Part #45530-KS3-900
Lever,r.steering (Ref #14)
14
Part #53175-KAK-900
Bolt,handle lever (Ref #15)
15
Part #90114-KB9-960
Oil bolt,10x22 (Ref #16)
16
Part #90145-KR1-600
Oil bolt,10x22 (Ref #16)
16
Part #90145-KR1-600
Oil bolt,10x22 (Ref #16)
16
Part #90145-KR1-600
Oil bolt,10x22 (Ref #16)
16
Part #90145-KR1-600
Circlip (Ref #18)
18
Part #90651-KB9-960
O ring,13x1.9 (Ref #19)
19
Part #91305-KB9-961
Болт (Ref #20)
20
Part #93600-040120G
Screw-washer (Ref #21)
21
Part #93893-040-120-8
Гайка (Ref #22)
22
Part #94050-06000
Болт (Ref #23)
23
Part #96001-0602207
