Tools
Tools
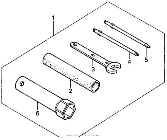
Tool set (Ref #1)
1
Part #89010-GZ4-505
Bulk hose (14x1000) (Ref #2)
2
Part #95005-140-0130M
Spanner, 8 (Ref #3)
3
Part #9900108000
Инструмент для завинчивания отвертка (Ref #4)
4
Part #99003-10000
Инструмент для завинчивания отвертка (Ref #5)
5
Part #99003-30000
Wrench, box (p21) (Ref #6)
6
Part #99004-21001
