Санкт-Петербург, ул.Парковая д.6 (м. Московские ворота)
+7(911)820-24-54
info.moto98@yandex.ru
0 товар(ов) - 0.00 р.
В корзине пусто!
Поиск
Личный кабинет
Регистрация
Авторизация
Мои закладки (0)
Оформление заказа
Категории
Запчасти лодочных моторов
SUZUKI MARINE
Показать все Запчасти лодочных моторов
Запчасти для мотоциклов
KAWASAKI
AGUSTA
BMW MOTORRAD
BOMBARDIER
DUCATI
HARLEY DAVIDSON
HONDA MOTO
HUSQVARNA MOTORCYCIES
KTM
POLARIS
SUZUKI MOTO
TRIUMPH
YAMAHA
Показать все Запчасти для мотоциклов
Аналоги
ALLBALLS
CHAMPION
D.I.D
FERODO
HIFLOFILTRO
JT SPROCKETS
KYMCO
NACHI
NTB
TRW Lucas
КИТАЙ
Показать все Аналоги
Моторные масла
Каталоги производителей
Motorcycles
HONDA
2009
Gold Wing (GL18009)
Rear speaker set
Rear speaker set
Rear speaker set
+
-
Номер ссылки
Артикул
Наименование
Кол-во на узел
Примечания
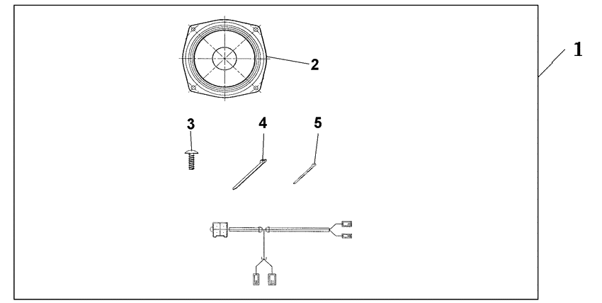
1
Артикул:
08A10-MCA-800-A
Rear speaker set
Кол-во на узел:
1
Примечания:
Доступно:
Нет в наличии
Нет в наличии
2
Артикул:
39140-MCA-A70
Unit comp
Кол-во на узел:
2
Примечания:
Доступно:
Нет в наличии
Нет в наличии
3
Артикул:
93901-25280
Болт
Кол-во на узел:
8
Примечания:
Доступно:
Нет в наличии
Нет в наличии
4
Артикул:
90650-MA6-720
Band.harness
Кол-во на узел:
2
Примечания:
Доступно:
Нет в наличии
Нет в наличии
5
Артикул:
32161-KM3-003
BAND
Кол-во на узел:
4
Примечания:
Доступно:
Нет в наличии
Нет в наличии