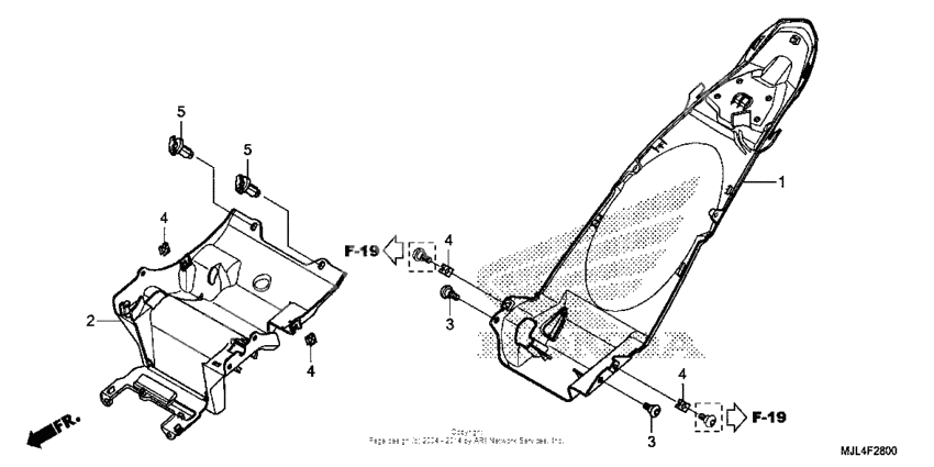
Rear fender
Rear fender
Fdr b, rr. (type1) (Ref #1)
1
Part #80110-MGS-D30ZB
Box, pgm-fi unit (Ref #2)
2
Part #81220-MGS-D30
Винт (Ref #3)
3
Part #90114-MGE-000
Винт (Ref #3)
3
Part #90114-MGE-000
Винт (Ref #3)
3
Part #90114-MGE-000
Винт (Ref #3)
3
Part #90114-MGE-000
Клипса крепления бампера (Ref #5)
5
Part #90683-GAZ-003
Клипса крепления бампера (Ref #5)
5
Part #90683-GAZ-003
Клипса крепления бампера (Ref #5)
5
Part #90683-GAZ-003
Клипса крепления бампера (Ref #5)
5
Part #90683-GAZ-003
