Санкт-Петербург, ул.Парковая д.6 (м. Московские ворота)
+7(911)820-24-54
info.moto98@yandex.ru
0 товар(ов) - 0.00 р.
В корзине пусто!
Поиск
Личный кабинет
Регистрация
Авторизация
Мои закладки (0)
Оформление заказа
Категории
Запчасти лодочных моторов
SUZUKI MARINE
Показать все Запчасти лодочных моторов
Запчасти для мотоциклов
KAWASAKI
AGUSTA
BMW MOTORRAD
BOMBARDIER
DUCATI
HARLEY DAVIDSON
HONDA MOTO
HUSQVARNA MOTORCYCIES
KTM
POLARIS
SUZUKI MOTO
TRIUMPH
YAMAHA
Показать все Запчасти для мотоциклов
Аналоги
ALLBALLS
CHAMPION
D.I.D
FERODO
HIFLOFILTRO
JT SPROCKETS
KYMCO
NACHI
NTB
TRW Lucas
КИТАЙ
Показать все Аналоги
Моторные масла
Каталоги производителей
Motorcycles
HONDA
2005
Gold Wing (GL1800A5)
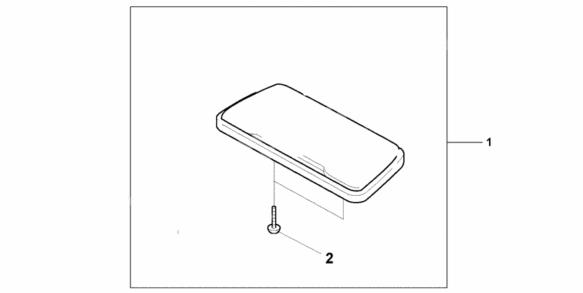
Trunk inner lamp
Trunk inner lamp
Trunk inner lamp
+
-
Номер ссылки
Артикул
Наименование
Кол-во на узел
Примечания
1
Артикул:
08E75-MCA-800-H
Trunk inner lamp
Кол-во на узел:
1
Примечания:
Доступно:
Нет в наличии
Нет в наличии
2
Артикул:
08E75-MCA-80034
Assy
Кол-во на узел:
1
Примечания:
Доступно:
Нет в наличии
Нет в наличии
3
Артикул:
08E75-MCA-80033
Жгут проводов
Кол-во на узел:
1
Примечания:
Доступно:
Нет в наличии
Нет в наличии
4
Артикул:
93913-24180
Болт
Кол-во на узел:
2
Примечания:
Доступно:
Нет в наличии
Нет в наличии