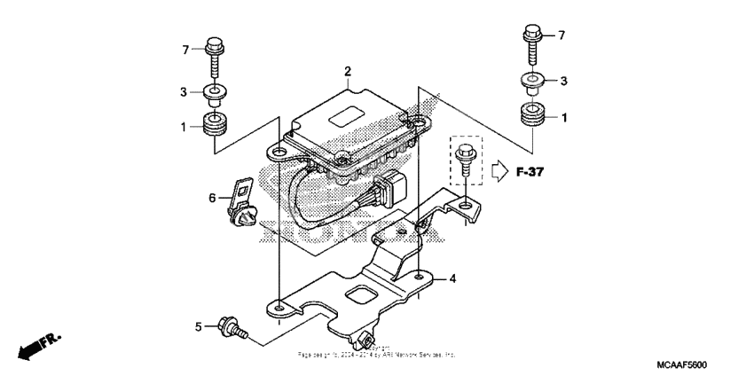
Tpms receiver unit
Tpms receiver unit
RUBBER (Ref #1)
1
Part #18294-KSV-J00
RUBBER (Ref #1)
1
Part #18294-KSV-J00
RUBBER (Ref #1)
1
Part #18294-KSV-J00
RUBBER (Ref #1)
1
Part #18294-KSV-J00
Receiver unit, tpms (Ref #2)
2
Part #39350-MCA-R32
Colr, tpms receiver (Ref #3)
3
Part #39351-MCA-R30
Colr, tpms receiver (Ref #3)
3
Part #39351-MCA-R30
Colr, tpms receiver (Ref #3)
3
Part #39351-MCA-R30
Colr, tpms receiver (Ref #3)
3
Part #39351-MCA-R30
Stay, tpms receiver (Ref #4)
4
Part #64262-MCA-R30
BOLT (Ref #5)
5
Part #90111-187-000
CLIP (Ref #6)
6
Part #91565-SEL-003
BOLT (Ref #7)
7
Part #95701-060-200-0
BOLT (Ref #7)
7
Part #95701-060-200-0
BOLT (Ref #7)
7
Part #95701-060-200-0
BOLT (Ref #7)
7
Part #95701-060-200-0
