Drive face
Drive face
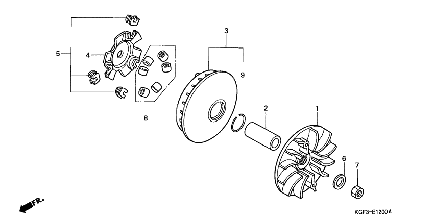
Face, drive (Ref #1)
1
Part #22102-KGF-910
Boss,drive face (Ref #2)
2
Part #22105-KGF-910
Face comp,movable (Ref #3)
3
Part #22110-KGF-911
Plate, ramp (Ref #4)
4
Part #22131-KCW-850
Piece set, slide (Ref #5)
5
Part #22011-KCW-851
Washer,12.2x29x2. (Ref #6)
6
Part #90441-GY6-940
Nut, hex., 12mm (Ref #7)
7
Part #9403012200
Roller set,weight (Ref #8)
8
Part #22123-KGF-912
Clip (28mm) (Ref #9)
9
Part #90601-GY6-900
