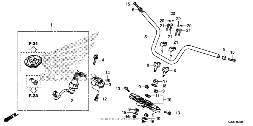
Handlebar
Handlebar
LOCK SET (Ref #1)
1
Part #35010-K26-910
Switch assy (Ref #2)
2
Part #35100-K26-901
STAY (Ref #3)
3
Part #35105-K26-900
KEY,BLANK (Ref #4)
4
Part #35121-KEE-630
HANDLEBAR (Ref #5)
5
Part #53100-K26-305
Weight a, handle (Ref #6)
6
Part #53102-K26-900
Weight a, handle (Ref #6)
6
Part #53102-K26-900
Weight a, handle (Ref #6)
6
Part #53102-K26-900
Weight a, handle (Ref #6)
6
Part #53102-K26-900
Holder *nh105* (Ref #7)
7
Part #53131-K20-900ZC
Holder *nh105* (Ref #7)
7
Part #53131-K20-900ZC
Holder *nh105* (Ref #7)
7
Part #53131-K20-900ZC
Holder *nh105* (Ref #7)
7
Part #53131-K20-900ZC
Hldr, handle (lower) (Ref #8)
8
Part #53132-K26-900
Hldr, handle (lower) (Ref #8)
8
Part #53132-K26-900
Hldr, handle (lower) (Ref #8)
8
Part #53132-K26-900
Hldr, handle (lower) (Ref #8)
8
Part #53132-K26-900
Bridge, fork top (Ref #10)
10
Part #53300-K26-900
Emblem, product (Ref #11)
11
Part #86150-KTJ-C60
Emblem, product (Ref #11)
11
Part #86150-KPG-902
Emblem, product (Ref #11)
11
Part #86150-KPG-901
BOLT (Ref #12)
12
Part #90107-KPP-860
Bolt (8x32) (Ref #13)
13
Part #90160-K26-900
Bolt (8x32) (Ref #13)
13
Part #90160-K26-900
Bolt (8x32) (Ref #13)
13
Part #90160-K26-900
Bolt (8x32) (Ref #13)
13
Part #90160-K26-900
Screw (6x12) (Ref #14)
14
Part #90164-028-000
Screw,oval 6x40 (Ref #15)
15
Part #90191-KWB-600
Screw,oval 6x40 (Ref #15)
15
Part #90191-KWB-600
Screw,oval 6x40 (Ref #15)
15
Part #90191-KWB-600
Screw,oval 6x40 (Ref #15)
15
Part #90191-KWB-600
Nut, u (8mm) (Ref #16)
16
Part #90304-KPG-901
Nut, u (8mm) (Ref #16)
16
Part #90304-KPG-901
Nut, u (8mm) (Ref #16)
16
Part #90304-KPG-901
Nut, u (8mm) (Ref #16)
16
Part #90304-KPG-901
Гайка (Ref #17)
17
Part #90305-KGH-900
Шайба (Ref #18)
18
Part #90503-KGA-900
Шайба (Ref #19)
19
Part #90535-K26-900
Шайба (Ref #19)
19
Part #90535-K26-900
Шайба (Ref #19)
19
Part #90535-K26-900
Шайба (Ref #19)
19
Part #90535-K26-900
