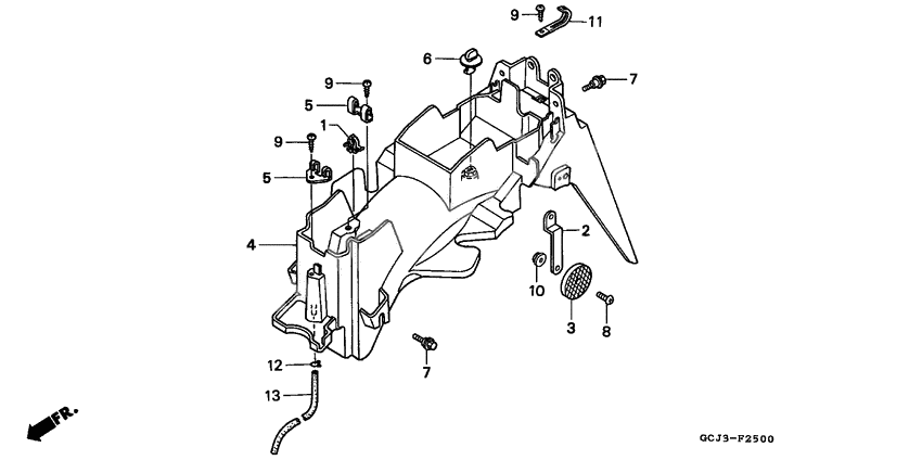
Rear fender
Rear fender
Clip, high tension cord (8mm) (Ref #1)
1
Part #30701-883-000
Stay reflector (Ref #2)
2
Part #33741-GCJ-900
REFLEX REFLECTOR (Ref #3)
3
Part #33741-GT8-620
Fender rr (Ref #4)
4
Part #80105-GCJ-900
Stay battery band (Ref #5)
5
Part #80106-GAS-900
Stay battery band (Ref #5)
5
Part #80106-GAS-900
Stay battery band (Ref #5)
5
Part #80106-GAS-900
Stay battery band (Ref #5)
5
Part #80106-GAS-900
Fasner,1/4 turn (Ref #6)
6
Part #80107-GAS-901
BOLT (Ref #7)
7
Part #90111-162-000
BOLT (Ref #7)
7
Part #90111-162-000
BOLT (Ref #7)
7
Part #90111-162-000
BOLT (Ref #7)
7
Part #90111-162-000
Болт (Ref #8)
8
Part #93500-050-160-G
Гайка (Ref #10)
10
Part #94050-05000
Clip, cable (4x60) (Ref #11)
11
Part #9459146000
CLIP (Ref #12)
12
Part #95002-70000
Tube 7x505 (Ref #13)
13
Part #95005-705-053-0
