Tank fuel
Tank fuel
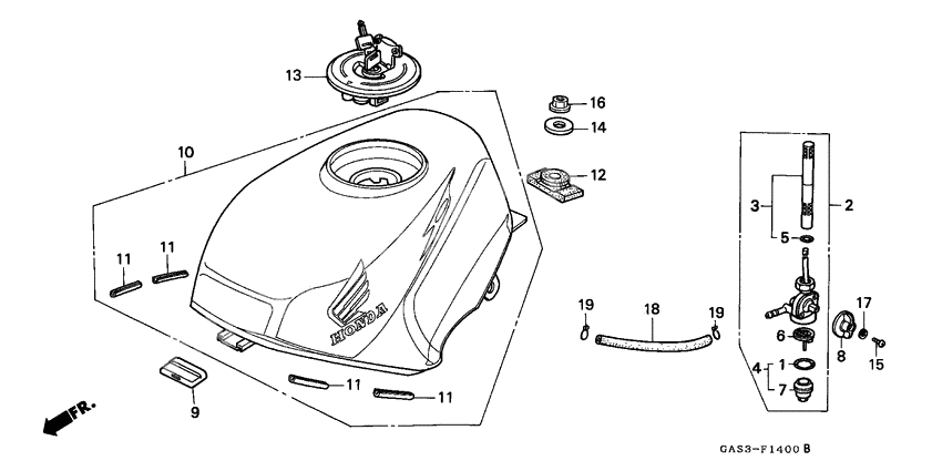
Packing, fuel strainer cup (Ref #1)
1
Part #16173-001-004
Кран топливный (Ref #2)
2
Part #16950-GAS-900
Screen set fuel s (Ref #3)
3
Part #16952-GE2-305
Cup set (Ref #4)
4
Part #16953-GT4-305
O-ring, 9.0x1.3 (Ref #5)
5
Part #16958-397-771
Filter, cup (Ref #6)
6
Part #16959-471-831
Lever, fuel petcock (Ref #8)
8
Part #17512-GT4-710
Rubber,tank fr.st (Ref #9)
9
Part #17517-KBA-900
Set illust*type1* (Ref #10)
10
Part #17520-GCJ-S60ZA
Валик (Ref #12)
12
Part #17613-168-000
Cap comp.,fuel fi (Ref #13)
13
Part #17620-GE2-931
Washer,8.5x32 (Ref #14)
14
Part #90501-GT4-000
Болт (Ref #15)
15
Part #93500-040-080-G
Гайка (Ref #16)
16
Part #94050-08000
Шайба (Ref #17)
17
Part #9411104700
Tube, fuel, 4.5x150 (95001-45001-60m) (Ref #18)
18
Part #95001-452-0040S
CLIP (Ref #19)
19
Part #95002-02080
CLIP (Ref #19)
19
Part #95002-02080
CLIP (Ref #19)
19
Part #95002-02080
CLIP (Ref #19)
19
Part #95002-02080
-
1895001-451-504-0
Tube, fuel, 4.5x150 (95001-45001-60m)
1Replaced by 95001-452-0040S Доступно: Нет в наличии
