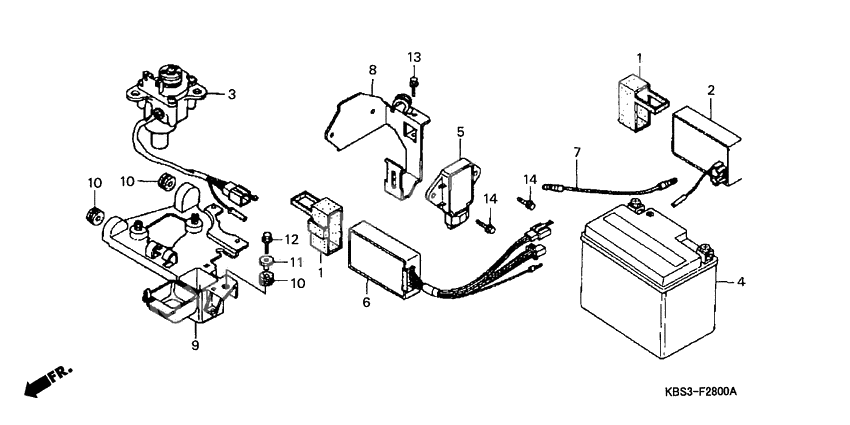
Battery
Battery
Cushion, c.d.i. unit (Ref #1)
1
Part #30401-KY4-900
Cushion, c.d.i. unit (Ref #1)
1
Part #30401-KY4-900
Cushion, c.d.i. unit (Ref #1)
1
Part #30401-KY4-900
Cushion, c.d.i. unit (Ref #1)
1
Part #30401-KY4-900
Unit comp,cdi (Ref #2)
2
Part #30410-KBS-901
Motor assy servo (Ref #3)
3
Part #31420-KBS-901
Аккумулятор (Ref #4)
4
Part #31500-KY4-905AH
Rectifier, regulate (Ref #5)
5
Part #31600-MV4-010
Unit comp.,r.c.va (Ref #6)
6
Part #31810-KBS-900
PLATE,REGULATOR (Ref #8)
8
Part #50226-KBS-900
Stay,servo motor (Ref #9)
9
Part #50331-KBS-900
BOLT (Ref #11)
11
Part #95701-060-250-0
Bolt, flange, 6x40 (Ref #13)
13
Part #95701-0604000
BOLT (Ref #14)
14
Part #96001-060-160-0
BOLT (Ref #14)
14
Part #96001-060-160-0
BOLT (Ref #14)
14
Part #96001-060-160-0
BOLT (Ref #14)
14
Part #96001-060-160-0
-
531600-KBG-008
Rectifier, regulator
1Replaced by 31600-MV4-010 Доступно: Нет в наличии
-
1161104-428-000
Collar, fr. fender
1Replaced by 95701-060-250-0 Доступно: Нет в наличии
-
1161104-357-000
Collar, fr. fender
1Replaced by 61104-428-000 Доступно: Нет в наличии
