Tools
Tools
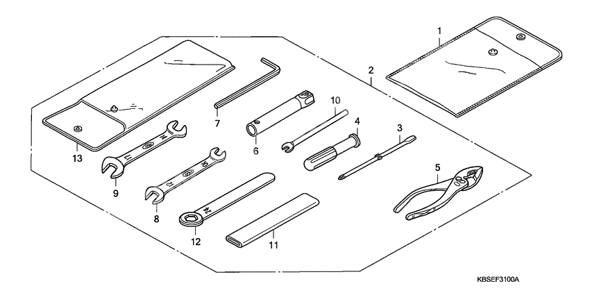
Bag, owner`s manual (Ref #1)
1
Part #83642-355-000
Tool set (Ref #2)
2
Part #89010-KBS-900
Инструмент для завинчивания отвертка (Ref #3)
3
Part #89102-538-000
Grip (Ref #4)
4
Part #89103-538-000
Клещи (Ref #5)
5
Part #89210-GBJ-J10
Клещи (Ref #5)
5
Part #89210-GBJ-J00
Wrench, box (p21) (Ref #6)
6
Part #89216-357-000
Wrench, hex., 6mm (Ref #7)
7
Part #89221-371-000
Spanner (Ref #8)
8
Part #99001-10120
Spanner (Ref #9)
9
Part #99001-14170
Bar b, handle (Ref #10)
10
Part #9900502000
Handle (12mm) (Ref #11)
11
Part #99006-12000
Wrench, eye (24mm) (Ref #12)
12
Part #9900624000
Bag (Ref #13)
13
Part #99008-01600
