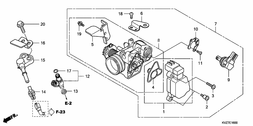
Throttle body
Throttle body
Sensor set (Ref #1)
1
Part #16060-GFM-901
Screw, torx (5x8.7) (Ref #2)
2
Part #16081-KPH-701
Screw, torx (5x17) (Ref #3)
3
Part #16082-KPH-701
Прокладка (Ref #4)
4
Part #16083-KTR-941
STAY (Ref #5)
5
Part #16169-KTW-901
STAY (Ref #6)
6
Part #16196-KTW-901
Блок управления дроссельной заслонкой (Ref #7)
7
Part #16400-KVZ-631
Body set (Ref #8)
8
Part #16410-KVZ-631
Valve assy. (Ref #9)
9
Part #16430-KTW-901
PLATE (Ref #10)
10
Part #16432-GFM-901
Screw, torx (Ref #11)
11
Part #16433-HN8-A61
Injector assy., fuel (Ref #12)
12
Part #16450-MFJ-D01
Seal ring, injector (Ref #13)
13
Part #16472-MCW-000
Damper a, connector (Ref #14)
14
Part #16718-KTW-900
JOINT (Ref #15)
15
Part #17565-KVZ-630
STAY (Ref #16)
16
Part #17571-KVZ-630
Прокладка (Ref #17)
17
Part #91301-P7A-004
Болт (Ref #18)
18
Part #93500-050-100-H
Screw-washer (Ref #19)
19
Part #93892-050-120-8
Bolt, flange, 6x22 (Ref #20)
20
Part #95701-0602200
