Body cover
Body cover
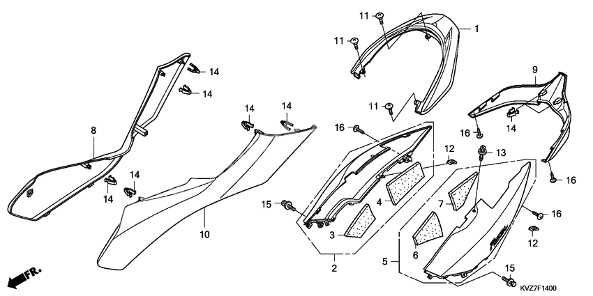
COVER (Ref #1)
1
Part #77330-KVZ-630ZF
COVER (Ref #1)
1
Part #77330-KVZ-630ZB
COVER (Ref #1)
1
Part #77330-KVZ-630ZA
Крышка цилиндра (Ref #2)
2
Part #83400-KVZ-630ZF
Крышка цилиндра (Ref #2)
2
Part #83400-KVZ-630ZB
Крышка цилиндра (Ref #2)
2
Part #83400-KVZ-630ZA
Mat a (Ref #3)
3
Part #83420-KVZ-630
Mat b (Ref #4)
4
Part #83421-KVZ-630
Крышка цилиндра (Ref #5)
5
Part #83500-KVZ-630ZB
Крышка цилиндра (Ref #5)
5
Part #83500-KVZ-630ZA
Крышка цилиндра (Ref #5)
5
Part #83500-KVZ-630ZF
Mat c (Ref #6)
6
Part #83520-KVZ-630
Mat d (Ref #7)
7
Part #83521-KVZ-630
Панель (Ref #8)
8
Part #83601-KVZ-630ZF
Панель (Ref #8)
8
Part #83601-KVZ-630ZB
Панель (Ref #8)
8
Part #83601-KVZ-630ZA
COVER (Ref #9)
9
Part #83661-KVZ-630ZB
Панель (Ref #10)
10
Part #83701-KVZ-630ZF
Панель (Ref #10)
10
Part #83701-KVZ-630ZB
Панель (Ref #10)
10
Part #83701-KVZ-630ZA
Гайка (Ref #12)
12
Part #90302-SA4-003
Гайка (Ref #12)
12
Part #90302-SA4-003
Гайка (Ref #12)
12
Part #90302-SA4-003
Гайка (Ref #12)
12
Part #90302-SA4-003
CLIP (Ref #13)
13
Part #90601-PV3-003
Bolt-washer, 6x12 (Ref #15)
15
Part #93404-0601200
Bolt-washer, 6x12 (Ref #15)
15
Part #93404-0601200
Bolt-washer, 6x12 (Ref #15)
15
Part #93404-0601200
Bolt-washer, 6x12 (Ref #15)
15
Part #93404-0601200
