Exhaust muffler NPS505/6
Exhaust muffler NPS505/6
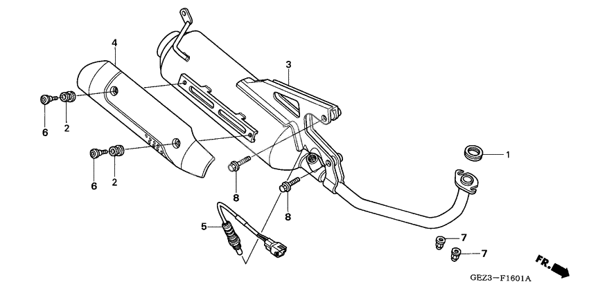
Gasket, ex. pipe (Ref #1)
1
Part #18291-GET-000
RUBBER (Ref #2)
2
Part #18293-GZ5-000
RUBBER (Ref #2)
2
Part #18293-GZ5-000
RUBBER (Ref #2)
2
Part #18293-GZ5-000
RUBBER (Ref #2)
2
Part #18293-GZ5-000
Muffler comp. (Ref #3)
3
Part #18300-GEZ-640
PROTECTOR (Ref #4)
4
Part #18318-GEZ-640
Датчик (Ref #5)
5
Part #36531-GEZ-641
BOLT (Ref #6)
6
Part #90003-GEV-760
BOLT (Ref #6)
6
Part #90003-GEV-760
BOLT (Ref #6)
6
Part #90003-GEV-760
BOLT (Ref #6)
6
Part #90003-GEV-760
Nut, cap (6mm) (Ref #7)
7
Part #90304-438-000
Nut, cap (6mm) (Ref #7)
7
Part #90304-438-000
Nut, cap (6mm) (Ref #7)
7
Part #90304-438-000
Nut, cap (6mm) (Ref #7)
7
Part #90304-438-000
Bolt, flange, 8x45 (Ref #8)
8
Part #95701-0804507
Bolt, flange, 8x45 (Ref #8)
8
Part #95701-0804507
Bolt, flange, 8x45 (Ref #8)
8
Part #95701-0804507
Bolt, flange, 8x45 (Ref #8)
8
Part #95701-0804507
