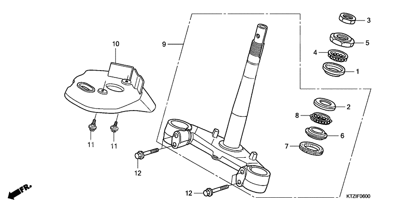
Steering stem
Steering stem
Race, steering upper ball (Ref #1)
1
Part #50301-GM0-000
Race, steering ball (Ref #2)
2
Part #50302-GN5-900
Nut, steering stem lock (Ref #3)
3
Part #50306-196-010
Ball assy., steering steel (Ref #4)
4
Part #53210-GR1-751
Race, steering top cone (Ref #5)
5
Part #53211-GC8-003
Race, steering cone (Ref #6)
6
Part #53212-GN5-900
DUST SEAL (Ref #7)
7
Part #53214-GN5-900
Ball, steering steel (Ref #8)
8
Part #53215-GZ4-671
Stem sub assy. (Ref #9)
9
Part #53219-KPZ-901
Крыло (Ref #10)
10
Part #61110-KTZ-D00
Bolt, special (5mm) (Ref #11)
11
Part #90112-GC3-000
Bolt, special (5mm) (Ref #11)
11
Part #90112-GC3-000
Bolt, special (5mm) (Ref #11)
11
Part #90112-GC3-000
Bolt, special (5mm) (Ref #11)
11
Part #90112-GC3-000
BOLT (Ref #12)
12
Part #95801-100-550-8
BOLT (Ref #12)
12
Part #95801-100-550-8
BOLT (Ref #12)
12
Part #95801-100-550-8
BOLT (Ref #12)
12
Part #95801-100-550-8
-
-
Цена: 280.00 р.
Доступно: 2
-
