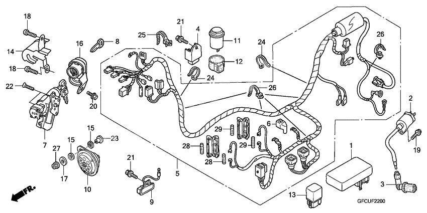
Harness wire
Harness wire
Блок конденсаторного зажигания (Ref #1)
1
Part #30410-GFC-892
Катушка аккамулятора (Ref #2)
2
Part #30510-GFC-890
Cap assy. (Ref #3)
3
Part #30700-GFC-790
Rectifier comp (Ref #4)
4
Part #31600-GFC-780
Жгут проводов (Ref #5)
5
Part #32100-GFC-790
COVER (Ref #6)
6
Part #32412-GFC-900
Key set (Ref #7)
7
Part #35010-GFC-710
Ключ (Ref #8)
8
Part #35121-GFC-710
Resistor comp (Ref #9)
9
Part #35400-GFH-930
Horn comp. (Ref #10)
10
Part #38110-GFC-890
Relay comp (Ref #11)
11
Part #38301-GFC-850
Suspension (Ref #12)
12
Part #38306-292-000
Реле стартера (Ref #13)
13
Part #38501-GFC-890
COVER (Ref #14)
14
Part #50450-GFC-780
Rubber b (Ref #15)
15
Part #61106-KW6-840
Rubber b (Ref #15)
15
Part #61106-KW6-840
Rubber b (Ref #15)
15
Part #61106-KW6-840
Rubber b (Ref #15)
15
Part #61106-KW6-840
Cap assy. (Ref #16)
16
Part #81136-GFC-700
Шайба (Ref #17)
17
Part #90103-GFC-900
Bolt, one-way (8mm) (Ref #18)
18
Part #90107-MBG-000
Bolt, one-way (8mm) (Ref #18)
18
Part #90107-MBG-000
Bolt, one-way (8mm) (Ref #18)
18
Part #90107-MBG-000
Bolt, one-way (8mm) (Ref #18)
18
Part #90107-MBG-000
Bolt,battery term (Ref #19)
19
Part #90112-KCW-870
BOLT (Ref #20)
20
Part #90115-GFC-700
BOLT (Ref #21)
21
Part #90149-GAZ-980
BOLT (Ref #21)
21
Part #90149-GAZ-980
BOLT (Ref #21)
21
Part #90149-GAZ-980
BOLT (Ref #21)
21
Part #90149-GAZ-980
Болт (Ref #22)
22
Part #90164-GFC-950
COLLAR (Ref #23)
23
Part #90503-GFC-950
Band,wire (Ref #24)
24
Part #90620-KRF-T00
Band,wire (Ref #24)
24
Part #90620-KRF-T00
Band,wire (Ref #24)
24
Part #90620-KRF-T00
Band,wire (Ref #24)
24
Part #90620-KRF-T00
Ременная лента кабель (Ref #25)
25
Part #90672-GCC-000
Clip,band harn (Ref #26)
26
Part #91540-GFC-890
Clip,band harn (Ref #26)
26
Part #91540-GFC-890
Clip,band harn (Ref #26)
26
Part #91540-GFC-890
Clip,band harn (Ref #26)
26
Part #91540-GFC-890
Гайка (Ref #27)
27
Part #94050-06000
Коробка предохранителей (Ref #28)
28
Part #98200-21000
Коробка предохранителей (Ref #28)
28
Part #98200-21000
Коробка предохранителей (Ref #28)
28
Part #98200-21000
Коробка предохранителей (Ref #28)
28
Part #98200-21000
Коробка предохранителей (Ref #29)
29
Part #98200-21500
Коробка предохранителей (Ref #29)
29
Part #98200-21500
Коробка предохранителей (Ref #29)
29
Part #98200-21500
Коробка предохранителей (Ref #29)
29
Part #98200-21500
