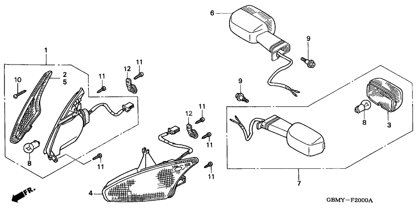
Winker
Winker
Winker assy r.fr. (Ref #1)
1
Part #33400-GBM-850
Lens r winker (Ref #2)
2
Part #33401-GBM-850
Lens winker (Ref #3)
3
Part #33402-GAS-901
Winker assy l.fr. (Ref #4)
4
Part #33450-GBM-850
Lens l winker (Ref #5)
5
Part #33451-GBM-850
Winker assy r. rr. (Ref #6)
6
Part #33600-GBM-850
Winker assy l. rr. (Ref #7)
7
Part #33650-GBM-850
Bulb (12v10w) (Ref #8)
8
Part #34907-415-751
Bulb (12v10w) (Ref #8)
8
Part #34907-415-751
Bulb (12v10w) (Ref #8)
8
Part #34907-415-751
Bulb (12v10w) (Ref #8)
8
Part #34907-415-751
Screw,pan,5x7 (Ref #9)
9
Part #91508-PN4-000
Screw,pan,5x7 (Ref #9)
9
Part #91508-PN4-000
Screw,pan,5x7 (Ref #9)
9
Part #91508-PN4-000
Screw,pan,5x7 (Ref #9)
9
Part #91508-PN4-000
Винт,4X20 (Ref #10)
10
Part #93901-24510
CLIP (Ref #12)
12
Part #94591-47000
CLIP (Ref #12)
12
Part #94591-47000
CLIP (Ref #12)
12
Part #94591-47000
CLIP (Ref #12)
12
Part #94591-47000
