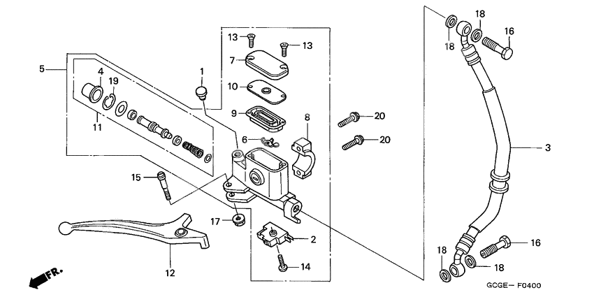
Fr. brake master cylinder
Fr. brake master cylinder
Screw,pan,5x8 (Ref #1)
1
Part #33115-GY1-961
Switch, fr. stop (Ref #2)
2
Part #35340-MA5-671
Hose comp,fr brk (Ref #3)
3
Part #45126-GCG-930
Boot comp. (Ref #4)
4
Part #45504-GBM-751
Sub assy,fr m/c (Ref #5)
5
Part #45510-GCG-W41
PROTECTOR (Ref #6)
6
Part #45512-GBM-751
Cap,mastercylinde (Ref #7)
7
Part #45513-GCG-W40
Holder,m/c (Ref #8)
8
Part #45517-GCG-W40
DIAPHRAGM (Ref #9)
9
Part #45520-GBM-751
Пластина (Ref #10)
10
Part #45521-GBM-751
Piston set fr m/c (Ref #11)
11
Part #45530-GBM-751
Lever,r strg hndl (Ref #12)
12
Part #53175-GCG-W40
Screw flat 4x12 (Ref #13)
13
Part #90101-GBM-751
Screw flat 4x12 (Ref #13)
13
Part #90101-GBM-751
Screw flat 4x12 (Ref #13)
13
Part #90101-GBM-751
Screw flat 4x12 (Ref #13)
13
Part #90101-GBM-751
Screw 4x12 (Ref #14)
14
Part #90102-GBM-751
Bolt,handle lever (Ref #15)
15
Part #90114-KR1-760
Oil bolt,10x22 (Ref #16)
16
Part #90145-MY5-H20
Oil bolt,10x22 (Ref #16)
16
Part #90145-MY5-H20
Oil bolt,10x22 (Ref #16)
16
Part #90145-MY5-H20
Oil bolt,10x22 (Ref #16)
16
Part #90145-MY5-H20
Nut,flange 6mm (Ref #17)
17
Part #90301-GBM-751
Circlip (Ref #19)
19
Part #90651-GBM-751
Болт (Ref #20)
20
Part #96001-0602207
Болт (Ref #20)
20
Part #96001-0602207
Болт (Ref #20)
20
Part #96001-0602207
Болт (Ref #20)
20
Part #96001-0602207
